EasyManua.ls Logo

Whirlpool GMC305PRB00 - Page 11

Whirlpool GMC305PRB00
12 pages
Print Icon
To Next Page IconTo Next Page
To Next Page IconTo Next Page
To Previous Page IconTo Previous Page
To Previous Page IconTo Previous Page
Loading...
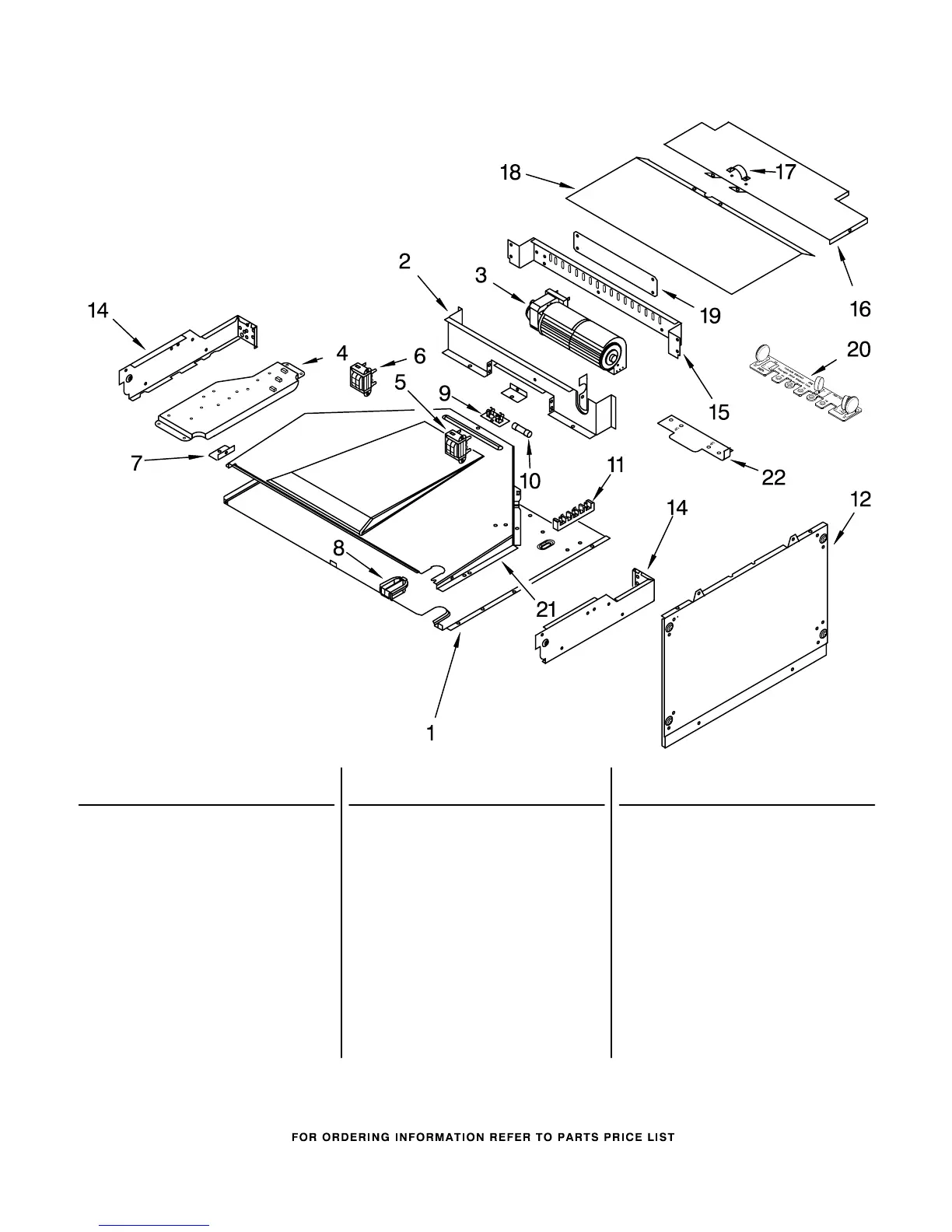
TOP VENTING PARTS
11
For Models:GMC305PRB00, GMC305PRQ00, GMC305PRT00, GMC305PRS00
(Black) (White) (Biscuit) (S.Steel)
8186303
Illus. Part
No. No. DESCRIPTION
Illus. Part
No. No. DESCRIPTION
Illus. Part
No. No. DESCRIPTION
1 4450378 Cover, Top
4450118 Nut
4449809 Screw
2 4448935 Baffle, Blower
3 4450920 Blower
1180485 Screw
4 4451789 Plate, Mounting
5 6610122 Transformer,
(Lights)
4449809 Screw
6 8300642 Transformer,
Control
7 4450027 Bracket, Duct
4449809 Screw
8 4449964 Grommet
4449809 Screw
112432 Nut
9 4454949 Holder, Fuse
4449154 Screw
10 4454976 Fuse
11 4449868 Block, Terminal
3400080 Screw
12 4452559 Side, Combo
4449809 Screw
4452260 Spacer, Foam
14 Side, Control Top
4451597 Right
4451598 Left
4449809 Screw
15 4452244 Back, Control
4449809 Screw
16 4450551 Cover, Top Rear
4449809 Screw
17 4448664 Clamp
4449809 Screw
18 4452367 Cover, Top Front
4449809 Screw
19 4452247 Plate, Cover
4449809 Screw
20 8302143 Suppressor
21 4451634 Duct, Exhaust
22 4455191 Plate, Service

Related product manuals