EasyManua.ls Logo

Whirlpool RBD276PD - Strip Circuits

Whirlpool RBD276PD
59 pages
Print Icon
To Next Page IconTo Next Page
To Next Page IconTo Next Page
To Previous Page IconTo Previous Page
To Previous Page IconTo Previous Page
Loading...
7-5
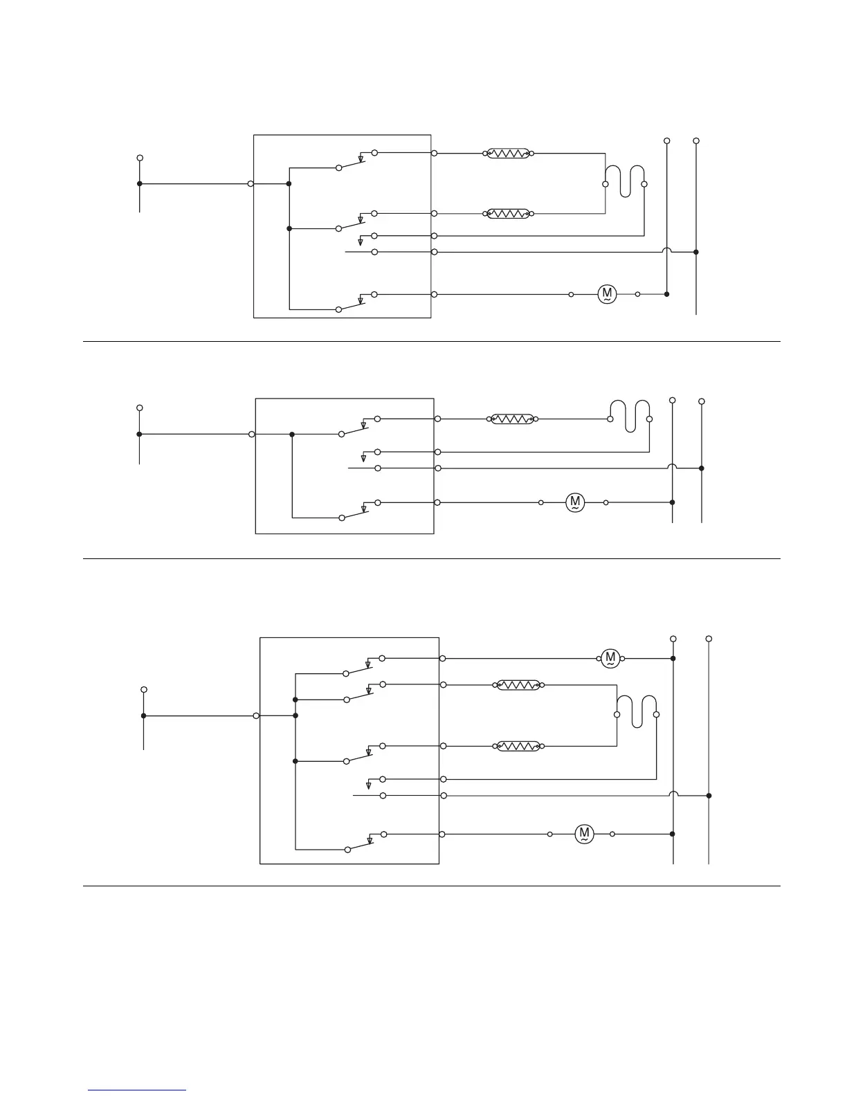
STRIP CIRCUITS
BAKE & PREHEAT BAKE
BROIL
CONVECTION & PREHEAT CONVECTION
(CONVECTION MODELS, UPPER OVEN ONLY)
BAKE-2000W
R
R
L1
L2
BROIL-3000W
OR
OR
GY
N
BLOWER
W
BK
*
(*)
P18-4
(P26-4)
P24-5
(P27-2)
P18-1
(P26-2)
R/W
R
DOUBLE
LINE
BREAK
RELAY
BROIL-3000W
OR
L1
L2
GY
N
BLOWER
W
OR
BK
P18-1
(P26-2)
P24-5
(P27-2)
*
(*)
R/W
R
DOUBLE
LINE
BREAK
RELAY
BAKE-2000W
BROIL-3000W
OR
OR
CONV. FAN
OR
L1
L2
N
R
GY
BLOWER
R
W
W
*
(*)
BK
P24-6
P18-1
P24-5
P18-4
R/W
R
DOUBLE
LINE
BREAK
RELAY

Table of Contents

Related product manuals