EasyManua.ls Logo

Whirlpool WWA-680 - Safety Device and Noise Troubleshooting; Safety Device Operation; Buzzing;Rattling During Water Supply

Whirlpool WWA-680
13 pages
Print Icon
To Next Page IconTo Next Page
To Next Page IconTo Next Page
To Previous Page IconTo Previous Page
To Previous Page IconTo Previous Page
Loading...
7
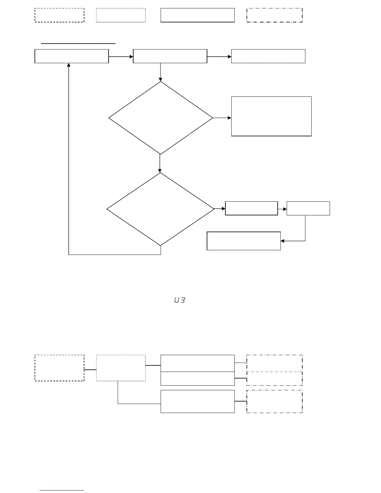
Operation of safety device
When the safety device works by abnormal swing of spin drum, machine works automatically to
stop Spin-Dry cycle and operates water supply valve to pour water into the Wash/Spin Tub and then starts
washing cycle for replacing washing clothes evenly.
After above operation has down twice, if safety device works again, machine will stop, and the number window
LED display abnormal code: and begin blinking on and off at the same time and the electric buzzer sounds
to indicate a problem.
• Open the Wash Lid and rearrange the clothes evenly around the Wash/Spin Tub.
• Close the Wash Lid and press the START/PAUSE button again.
f. Buzzing and rattling
Low
High
WWA-680
TROUBLE INSPECTION CAUSES REMEDY INSPECTION INSPECTION
Start of spin-drying. Normal spin. Safety device work.
Electric circuit
count operation of
safety device.
Electric circuit works to stop
spin when safety device
detects continuously three
times of abnormal swing of
sp
in drum.
Automatic
adjustment or
load.
Stop of Spin-Dry
Agitation of load (Rinsing
for 2 minutes).
Buzzing/rattling
during water
supply.
INSPECTION
Screw of water valve is
loose.
Something in water valve.
Tighten screws.
Replace.
INSPECTION
Is high water
pressure (more
than 4kg/cm
2
)?
Faucet open too far
Adjust faucet
turning.
Water supply

Related product manuals