EasyManua.ls Logo

WilTec SKD 3 - Installation and Pump Control; Installation Guidelines; Pump Pressure Requirements

WilTec SKD 3
7 pages
Print Icon
To Next Page IconTo Next Page
To Next Page IconTo Next Page
To Previous Page IconTo Previous Page
To Previous Page IconTo Previous Page
Loading...
© by WilTec Wildanger Technik GmbH Seite 14
http://www.WilTec.de
http://www.aoyue.eu
Version 7.2017
http://www.teichtip.de
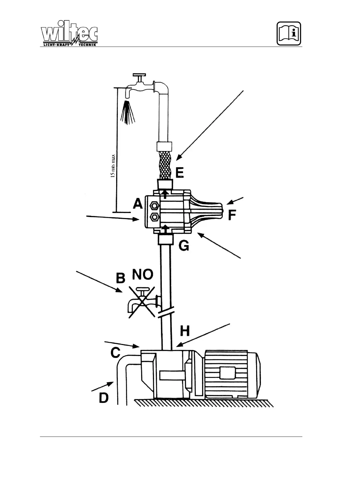
If the water head between
the pump and the highest
point of the water pipe ex-
ceeds 15 meter, the device
cannot be installed directly
to the pump. The unit must
be brought (mounted) at
such a height, so that the
protruding water pipe is
shorter than 15m. For ex-
ample: if the water pipe is
20m long, the device must
be mounted at least 5 m
higher above the pump.
The pump control is
equipped with a test valve,
to protect the pipe system
against pressure loss
Between the pump and the
pump control no taps are al-
lowed.
Pump pressure
The device is set at a pre-
pressure of 1,5 bar. The
pump pre-pressure must be
normally 0,5 bar higher than
the cut-in pressure, so it
must reach at least
2 bar.
Before starting the device
check the suction hose and
the pump filling!
Pumpenfüllung
prüfen!
We recommend
the user to connect the
pump control with the
water pipe supply,
through a flexible
hose.
The safety valve to
prevent water leaking
in case the membrane
breaks or bursts (do
not change or modify)
The pump control has
to be oriented upwards
according to the arrow.
The device can be in-
stalled directly to the
pump or between the
pump and the first tap.

Related product manuals