EasyManua.ls Logo

Windsor VERSAMATIC 10120340 - Page 16

Windsor VERSAMATIC 10120340
20 pages
Print Icon
To Next Page IconTo Next Page
To Next Page IconTo Next Page
To Previous Page IconTo Previous Page
To Previous Page IconTo Previous Page
Loading...
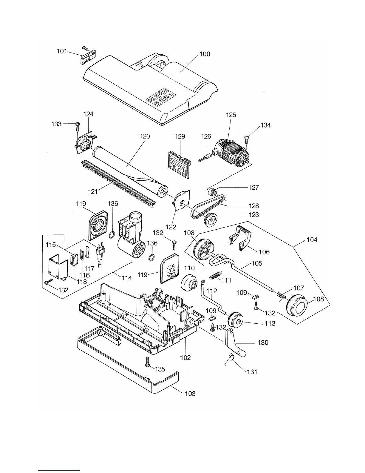
PARTS LIST / VS14 / 120V

Related product manuals