EasyManua.ls Logo

Windsor VersamaticVS14 - Page 18

Windsor VersamaticVS14
22 pages
Print Icon
To Next Page IconTo Next Page
To Next Page IconTo Next Page
To Previous Page IconTo Previous Page
To Previous Page IconTo Previous Page
Loading...
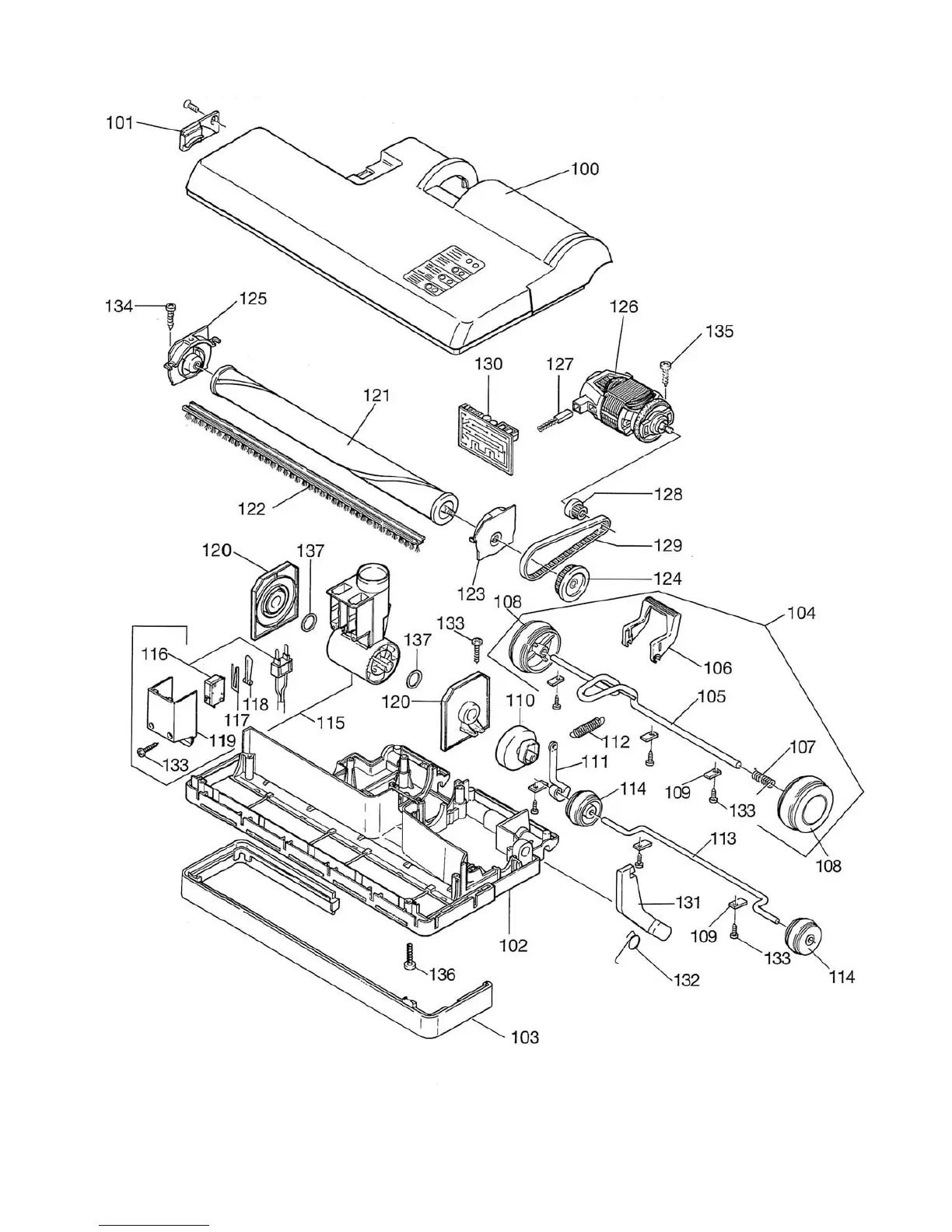
PARTS LIST / VS18 / 120V

Related product manuals