EasyManua.ls Logo

Wöhler AMP2-DA - Page 13

Default Icon
24 pages
Print Icon
To Next Page IconTo Next Page
To Next Page IconTo Next Page
To Previous Page IconTo Previous Page
To Previous Page IconTo Previous Page
Loading...
© 2004 Wohler Technologies Inc. ALL rights reserved
13
AMP2-DA/AVU and AMP2-DA/APP User Manual P/N 821584 Rev-A Section 2: Operation
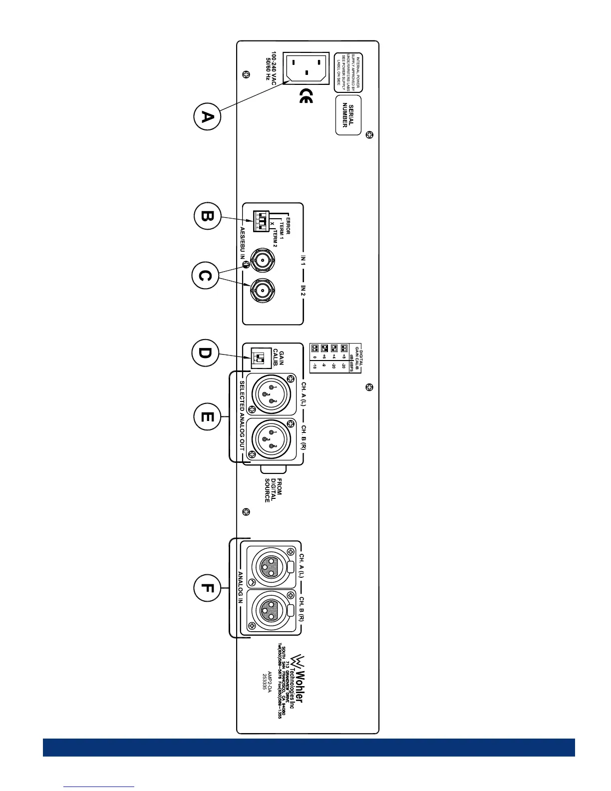
Figure-2b: Rear Panel Features

Related product manuals