EasyManua.ls Logo

Yale 626F - Installation Instructions

Yale 626F
6 pages
Print Icon
To Next Page IconTo Next Page
To Next Page IconTo Next Page
To Previous Page IconTo Previous Page
To Previous Page IconTo Previous Page
Loading...
A
A
NOTE : Measure from device mounting
surface (door face or shim surface).
Trim must be in un-locked position.
*
*
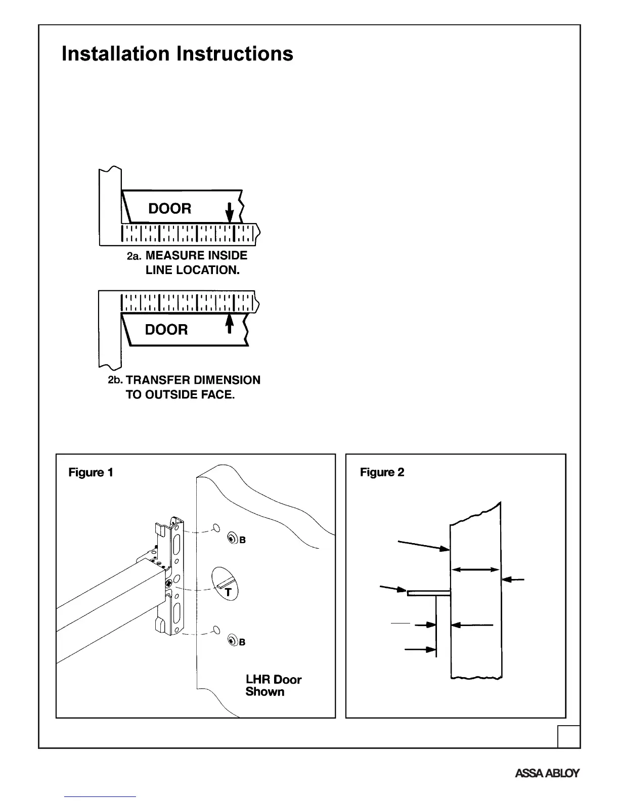
2
1. Assemble trim. See page 4 for components
and instructions.
2. After marking door inside face for device
location (Device Instructions) transfer Vertical
Reference Centerline from inside to outside
door face. Follow steps 2a and 2b below.
3. Transfer Horizontal Reference Centerline from
inside to outside door face.
4. Align trim template and tape to outside door
face. CAUTION: Office copiers and facsimile
machines may change the size of a drawing
and make the template inaccurate to use as a
door marker. If this is not the original template
packed with the trim, use only the dimensions
written on the template to locate the holes on
the door. (Do not use the template as a door
marker)
5. Spot holes and prepare door for trim.
6. Mount trim to door thru holes "B". Fasten finger
tight only with 2 screws and washers seating
on door as shown in Figure 1.
7. Cut trim tailpiece as shown in Figure 2.
8. Seat device so that trim tailpiece penetrates
cam slot as shown in Figure 1. Continue as
shown in device instructions.
Device is bolted
to trim using
holes "A" (closest
to door lock edge).
(2) Screws and
washers bolt trim
to door using
holes "B".
Tailpiece (T)
engages with
cross hole of
cam slot.
Cut per Fig 2.
Device
Mounting
Surface
(See Note)
Trim
Mounting
Surface
Trim
Tailpiece
Door
Thickness
Cut Line
Hold
5/16
(8)
An ASSA ABLOY Group brand
80-8470-0626-000 (01-13)

Related product manuals