EasyManua.ls Logo

Yamaha E115M - Periodic Maintenance and Minor Repair

Yamaha E115M
61 pages
Print Icon
To Next Page IconTo Next Page
To Next Page IconTo Next Page
To Previous Page IconTo Previous Page
To Previous Page IconTo Previous Page
Loading...
6
6-1
1
PERIODIC MAINTENANCE AND MINOR REPAIR
Safety is an obligation of the owner.
Periodic inspection, adjustment and
lubrication will keep your vehicle in the
safest and most efficient condition
possible. The most important points of
inspection, adjustment, and lubrication are
explained on the following pages.
The intervals given in the periodic
maintenance and lubrication chart should
be simply considered as a general guide
under normal riding conditions. However,
depending on the weather, terrain,
geographical location, and individual use,
the maintenance intervals may need to be
shortened.
WARNING
WARNING
WARNING
Failure to properly maintain the vehicle
or performing maintenance activities
incorrectly may increase your risk of
injury or death during service or while
using the vehicle. If you are not familiar
with vehicle service, have a Yamaha
dealer perform the service.
Turn off the engine when performing
maintenance unless otherwise specified.
A running engine has moving parts
that can catch on body parts or
clothing and electrical parts that can
cause shocks or fires.
Running the engine while servicing
can lead to eye injury, burns, fire, or
carbon monoxide poisoning,
possibly leading to death.
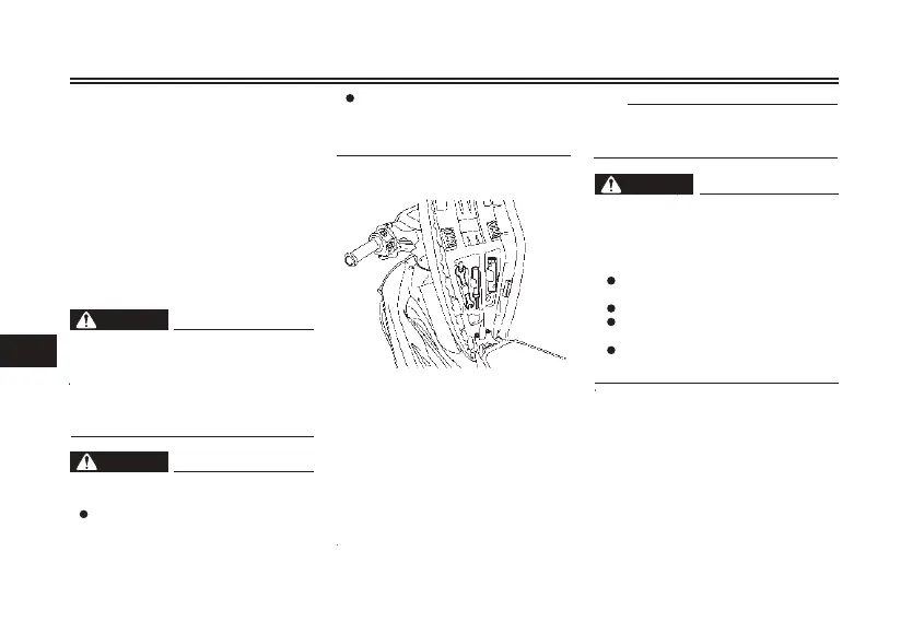
Owner’s tool kit
1. Owner’s tool kit
The owner’s tool kit is located under the
seat. (See page 3-7.)
The service information included in this
manual and the tools provided in the
owner’s tool kit are intended to assist
you in the performance of preventive
maintenance and minor repairs.
However, additional tools such as a
torquewrench may be necessary to
perform certain maintenance work
correctly.
TIP
If you do not have the tools or experience
required for a particular job, get a Yamaha
dealer perform it for you.
Modifications not approved by Yamaha
may cause loss of performance and
render the vehicle unsafe for use.
Do not attempt the following
modification.
Modify the carburetor fuel intake
mixture.
Modify the exhaust pipe system.
Modify the carburetor bore
diameter.
Remove parts or change the
engine system.

Table of Contents

Related product manuals