EasyManua.ls Logo

Yamaha F225AET - Page 14

Yamaha F225AET
226 pages
Print Icon
To Next Page IconTo Next Page
To Next Page IconTo Next Page
To Previous Page IconTo Previous Page
To Previous Page IconTo Previous Page
Loading...
1-8
MOUNTING THE OUTBOARD
MOTOR
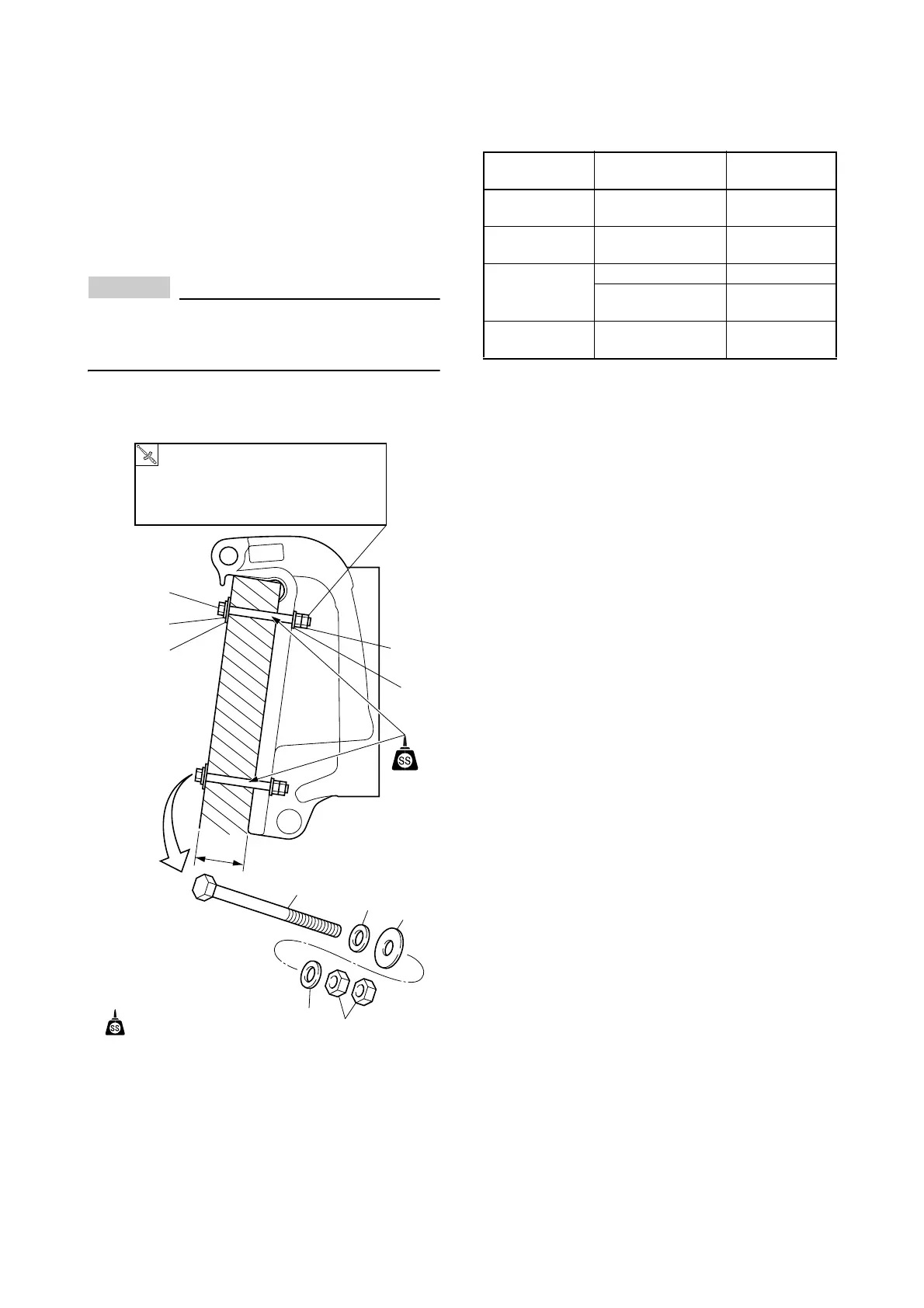
4. Apply a sealant to the mount holes, and se-
cure the motor with supplied mount hard-
ware.
For tightening procedure, first tighten the in-
side nut, then the double nuts each other.
NOTICE
Make sure there is no clearance between
boat transom and motor clamp bracket.
Otherwise, the clamp bracket could break.
* The upper mount bolt is usually installed to
the 2nd hole from top.
* Tighten the mounting bolts/ nuts by suitable torque
due to boat transom structure, material, design,
etc.
For 115 – 300 and F115 – F350, select the
transom mount bolt due to the boat transom
thickness.
* High tension bolt is recommended to F300/F350.
(a)
For reference:
(a)
(b)
(b)
(d)
(d)
(b)
(b)
(c)
(c)
(a) Mounting bolt
(b) Small washer
(c) Large washer
(d) Nut
: Sealant
T
M8: 18 Nm, 1.8 kgf•m, 13 lb•ft
M10: 36 Nm, 3.6 kgf•m, 27 lb•ft
M12: 52 Nm, 5.2 kgf•m, 38 lb•ft
Boat transom
thickness (T)
Mount bolt size Bolt P/N
55 – 65 mm
(2.17 – 2.56 in.)
M12 ×115 mm 90101-12M03
65 – 75 mm
(2.56 – 2.95 in.)
M12 ×130 mm 90101-12M05
75 – 95 mm
(2.95 – 3.74 in.)
M12 ×150 mm 90101-12M77
M12 ×150 mm
[High tension bolt]
90101-12031
95 – 115 mm
(3.74 – 4.53 in.)
M12 ×170 mm
[High tension bolt]
90101-12036

Table of Contents