EasyManua.ls Logo

Yamaha F90B - Procedure

Yamaha F90B
88 pages
Print Icon
To Next Page IconTo Next Page
To Next Page IconTo Next Page
To Previous Page IconTo Previous Page
To Previous Page IconTo Previous Page
Loading...
Maintenance
57
EMU28303
Procedure
EMU29955
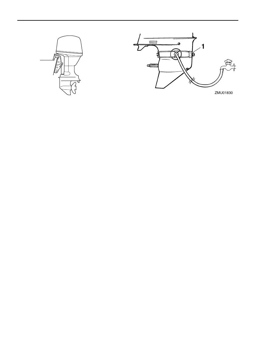
Flushing with the flushing attachment
1. Wash the outboard motor body using
fresh water. NOTICE: Do not spray wa-
ter into the air intake.
[ECM01840] For further
information, see page 59.
2. Disconnect the fuel line from the motor or
shut off the fuel cock, if equipped.
3. Remove the top cowling and propeller.
4. Install the flushing attachment over the
cooling water inlet. NOTICE: Do not run
the engine without supplying it with
cooling water. Either the engine water
pump will be damaged or the engine
will be damaged from overheating. Be-
fore starting the engine, be sure to
supply water to the cooling water pas-
sages. Avoid running the outboard
motor at high speed while on the
flushing attachment, otherwise over-
heating could occur.
[ECM02000]
5. Cooling system flushing is essential to
prevent the cooling system from clogging
up with salt, sand, or dirt. In addition, fog-
ging/lubricating the engine is mandatory
to prevent excessive engine damage due
to rust. Perform the flushing and fogging
at the same time. WARNING! Do not
touch or remove electrical parts when
starting or during operation. Keep
hands, hair, and clothes away from
the flywheel and other rotating parts
while the engine is running.
[EWM00091]
T
IP:
When using the flushing attachment, main-
tain adequate water pressure and a steady
water flow.
If the overheat alert device is activated, turn
the engine off, and consult your Yamaha
dealer.
6. Run the engine at a fast idle for a few
minutes in neutral position.
7. Just prior to turning off the engine, quickly
spray Fogging Oil alternately into the in-
take silencer or the fogging hole of the si-
lencer cover, if equipped. When properly
done, the engine will smoke excessively
and almost stall.
8. Drain the remained gasoline in the vapor
separator with a container. Loosen the
drain screw, and then remove the cap.
ZMU03659
1. Flushing attachment
U6D625E0.book Page 57 Thursday, March 13, 2008 9:06 AM

Table of Contents

Other manuals for Yamaha F90B

Related product manuals