EasyManua.ls Logo

Yamaha MC1602 - Input Channel Controls - Fader

Yamaha MC1602
16 pages
Print Icon
To Next Page IconTo Next Page
To Next Page IconTo Next Page
To Previous Page IconTo Previous Page
To Previous Page IconTo Previous Page
Loading...
Q
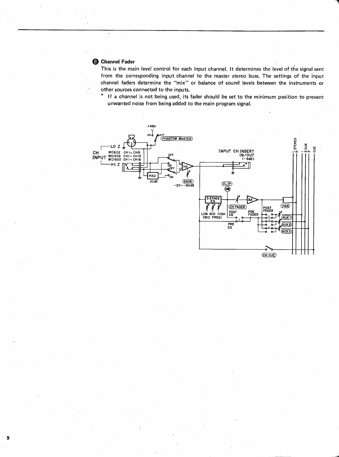
Channel
Fader
|
|
This
is
the
main
level
control
for
each
input
channel.
It
determines
the
level
of
the
signal
sent
from
the
corresponding
input
charinel
to
the
master
stereo
buss.
The
settings
of
the
input
channel
faders
determine
the
"mix"
or
balance
of
sound
levels
between
the
instruments
or
.
other
sources
connected
to
the
inputs.
*
If
a
channel
is
not
being
used,
its
fader
should
be
set
to
the
minimum
position
to
prevent
unwanted
noise
from
being
added
to
the
main
program
signal.
+48V
ond
DOFF
65
{PHANTOM
MASTER)
2
б a
a
[
Lo
2
5
RB
+
|
B
5
u
CH
MC802
CHI~
CH8
|
INPUT
CH
INSERT
Ie
-nm
©
MCI202
CHI~CHI2
ОРЕ
IN/OUT
INPUT
MCIG02
CHI-
CHIG
©
Mz
CERE]
o
|
НА
A
|
ON
20dB
-20~
-6048
CLIP
Lut)
=)
ве
[>
КУК
post
ФА
LOW
MID
HIGH
|
EQ3T
PRE
ee
boo
Y
TJ
(MID
FREQ)
оо
|
»
LEON
P
о
с
EQ
Teg
INI

Other manuals for Yamaha MC1602

Related product manuals