EasyManua.ls Logo

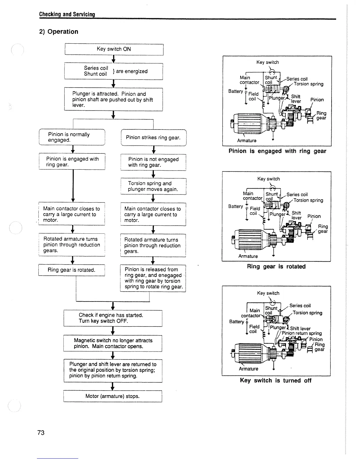
Yanmar L90AE - Reduction Type Starter Motor Operation

Yanmar L90AE
130 pages
Print Icon
To Next Page IconTo Next Page
To Next Page IconTo Next Page
To Previous Page IconTo Previous Page
To Previous Page IconTo Previous Page
Loading...

Table of Contents

Related product manuals