EasyManua.ls Logo

Yard-Man 13875-9 - Page 30

Yard-Man 13875-9
30 pages
Print Icon
To Previous Page IconTo Previous Page
To Previous Page IconTo Previous Page
Loading...
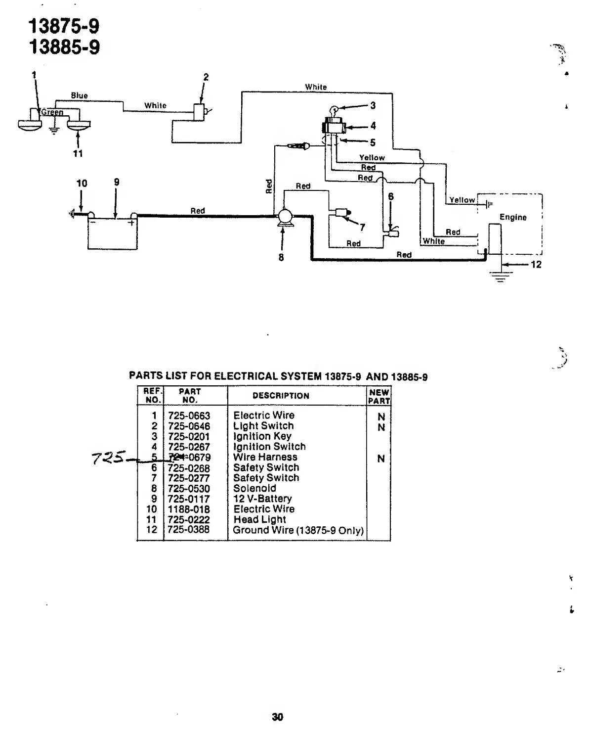
13875-9
13885-9
PARTS
LIST
FOR
ELECTRICAL
SYSTEM
13875-9
AND
13885-9
75
^
REF.
PART
NO.
NO.
DESCRIPTION
NEW
PART
1
725-0663
Electric
Wire
N
2
725-0646
Light
Switch
N
3
725-0201
Ignition
Key
4
725-0267
Ignition
Switch
^J^^-0679
Wire
Harness
N
6
725-0268
Safety
Switch
7
725-0277
Safety
Switch
8
725-0530
Solenoid
9
725-0117
12
V-Battery
10
1188-018
Electric
Wire
11
725-0222
Head
Light
12
725-0388
Ground
Wire
(13875-9
Only)
V
¥
30

Related product manuals