EasyManua.ls Logo

Yard-Man 31AE633E401 - Chute Assembly; Traction Control; Section 5: Making Adjustments

Yard-Man 31AE633E401
28 pages
Print Icon
To Next Page IconTo Next Page
To Next Page IconTo Next Page
To Previous Page IconTo Previous Page
To Previous Page IconTo Previous Page
Loading...
12
SECTION 5: MAKING ADJUSTMENTS
WARNING: NEVER attempt to clean
chute or make any adjustments while engine
is running.
Chute Assembly
The distance snow is thrown can be adjusted by
changing the angle of the chute assembly. Refer to
Chute Tilt Control on page 10.
Skid Shoe
The space between shave plate and ground can be
adjusted by raising or lowering the skid shoes. Refer to
Skid Shoe Adjustment on page 8.
Traction Control
Refer to Final Adjustments on page 7 to adjust traction
control. If you are want to check further for correct
adjustment, proceed as follows:
WARNING: Drain the gasoline out of your
snow throwers engine, place a piece of
plastic film under the gas cap to avoid spillage
before beginning to perform this adjustment.
Tip the snow thrower forward, allowing it to rest on
the auger housing.
Remove the frame cover underneath the snow
thrower by removing six self-tapping screws.
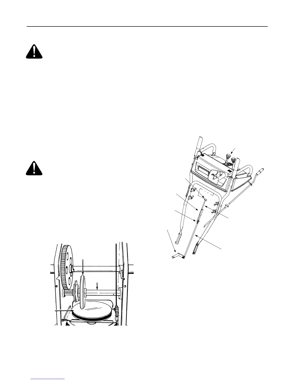
With the traction control released, there must be
clearance between the friction wheel and the drive
plate in all positions of the shift lever.
With the traction control engaged, the friction wheel
must contact the drive plate. See Figure 14.
Figure 14
If adjustment is necessary:
Loosen the jam nut on the traction drive cable and
thread the cable in or out as necessary.
Retighten the jam nut to secure the cable when
correct adjustment is reached.
Reassemble the frame cover.
NOTE: If you placed plastic film under the gas cap, be
certain to remove it before operating the snow thrower.
Auger Control
Refer to details on page 7 to adjust the auger control.
Shift Rod
To adjust the shift rod, proceed as follows.
Remove the hairpin clip and slide the connector up
to separate the upper shift rod from the lower shift
rod. See Figure 15.
Figure 15
Place shift lever in sixth (6) position.
Rotate the shift arm counterclockwise (from the
operators position) as far as it will go.
Thread the upper shift rod downward until the
elbow on its lower end aligns with the hole found in
the lower shift rod.
Reconnect the upper shift rod to the lower shift rod
by reinserting the cotter pin removed earlier and
sliding the connector back down into place.
IMPORTANT:
Check for correct adjustment of the shift
rod as instructed on page 7, before operating the snow
thrower.
Friction
Wheel
Gear Shaft
Drive
Plate
Shift Lever
Ferrule
Shift Arm
Hairpin
Clip
Lower Shift Rod
Upper Shift Rod
Connector

Related product manuals