EasyManua.ls Logo

Zeizz Stemi 508 - Unpacking and Installation; Unpacking and Installing the SDA Stand

Default Icon
16 pages
Print Icon
To Next Page IconTo Next Page
To Next Page IconTo Next Page
To Previous Page IconTo Previous Page
To Previous Page IconTo Previous Page
Loading...
UNPACKING AND INSTALLATION
SDA Stand for Stereomicroscopes Carl Zeiss
B 46-0075 e 05/06 9
3 UNPACKING AND INSTALLATION
3.1 Unpacking and installing the SDA
stand
The two standard basic components of the SDA
stand are supplied packed in two packages.
The SDA base plate is separately packed.
The package containing the double boom
additionally includes:
SDA column
Double boom with rotating/tilting head and
column 32
Vertical adjustment retainer ring
Screws, lever and tools
For the installation of the SDA stand, remove all
components from the packaging (verify that all
components are present).
CAUTION
When unpacking and installing the
base plate, consider that it has a
weight of approx. 30 kg.
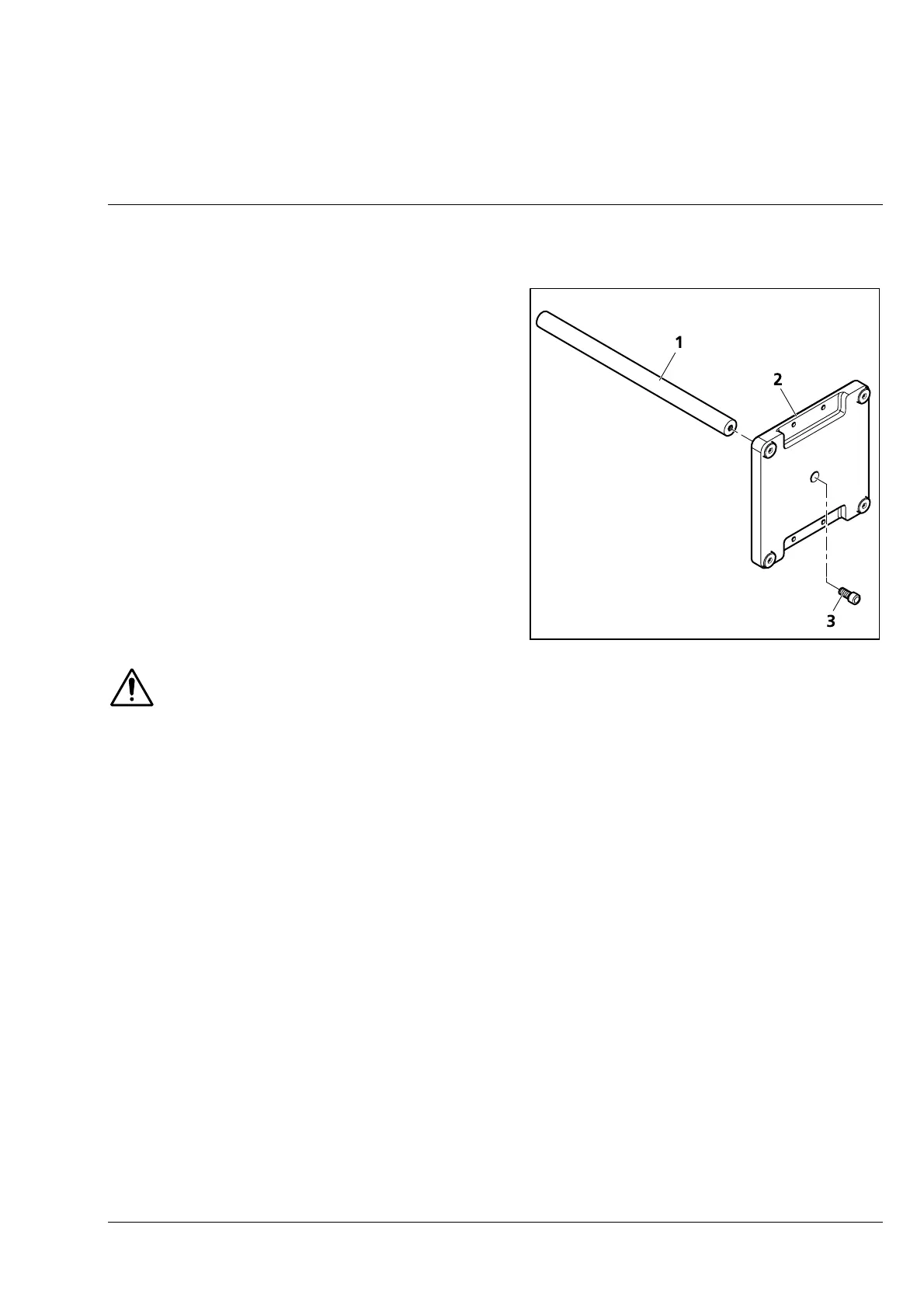
Two persons are needed to screw the column into
the base plate:
One person should hold the base plate (up end)
and the column and align these parts to each
other.
The second person should screw the column
(
3-1/1) onto the base plate (3-1/2) with
mounting screw (M16,
3-1/3) using an Allen key
(SW 14 mm). The mounting screw should be
fastened tightly.
Erect base plate with column and put it onto a
stable support.
Fig. 3-1 Screwing the column onto the base
plate

Related product manuals