EasyManua.ls Logo

3Com 4500 - Switch 4500 - Rear View Detail; Power Socket; Open Book Warning Labels

3Com 4500
134 pages
Print Icon
To Next Page IconTo Next Page
To Next Page IconTo Next Page
To Previous Page IconTo Previous Page
To Previous Page IconTo Previous Page
Loading...
20 CHAPTER 1: INTRODUCING THE SUPERSTACK 3 SWITCH 4500 FAMILY
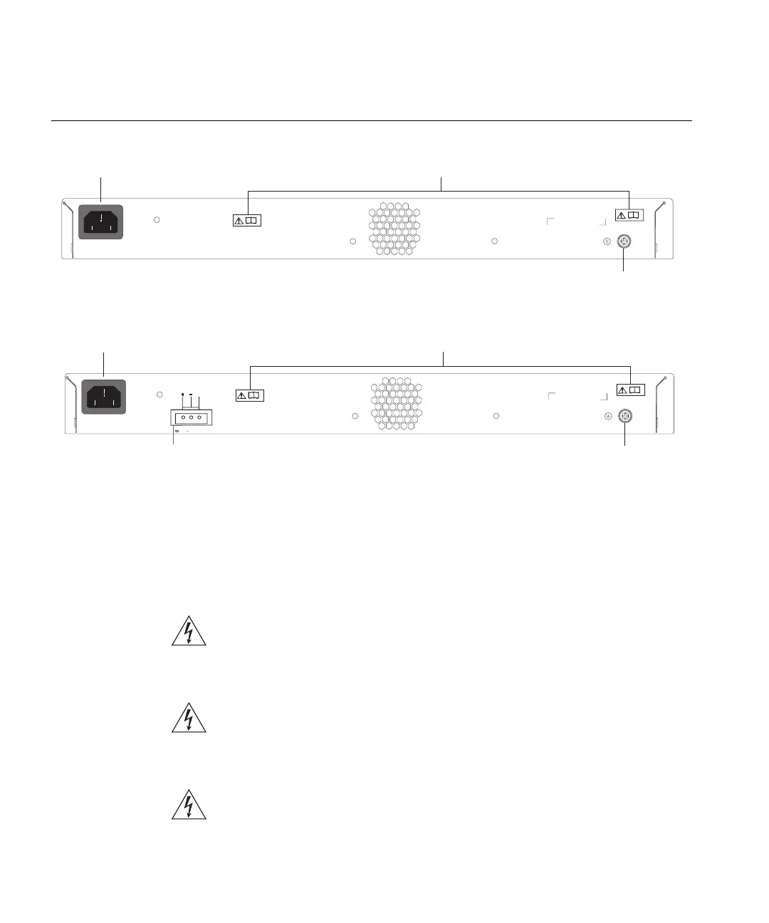
Switch 4500 — Rear
View Detail
Figure 5 Switch 4500 — rear view
Figure 6 Switch 4500 PWR - rear view
Power Socket The Switch automatically adjusts its power setting to any supply voltage
in the range 100-240 VAC.
Open Book Warning
Labels
Before installing or removing any components from the Switch 4500 or
carrying out any maintenance procedures, you must read the safety
information provided in Appendix A of this guide.
AVERTISSEMENT: Avant d'installer ou d'enlever tout composant des
commutateurs de la gamme Switch 4500 ou d'entamer une procédure
de maintenance, lisez les informations relatives à la sécurité qui se
trouvent dans l'annexe A de ce guide.
VORSICHT:Bevor Sie Komponenten der Switch 4500-Baureihe
installieren oder deinstallieren und bevor Sie Wartungsarbeiten
ausführen, müssen Sie die in Anhang A dieses Handbuchs aufgeführten
Sicherheitshinweise lesen.
ADVERTENCIA: Antes de instalar o extraer cualquier componente del
Switch 4500 Family o de realizar tareas de mantenimiento, debe leer la
información de seguridad facilitada en el Apéndice A de esta guía.
Power Socket
100-240V; 50/60Hz; 1A
Open Book Warning Labels
Earthing Screw
~
Power Socket
Redundant Power System Socket
100-240V; 50/60Hz; 7.0A
Open Book Warning Labels
NULL
Earthing Screw
~
-53 -55V;19.5A

Table of Contents

Other manuals for 3Com 4500

Related product manuals