EasyManua.ls Logo

3M Series 52 - Page 10

3M Series 52
42 pages
To Next Page IconTo Next Page
To Next Page IconTo Next Page
To Previous Page IconTo Previous Page
To Previous Page IconTo Previous Page
Loading...
9
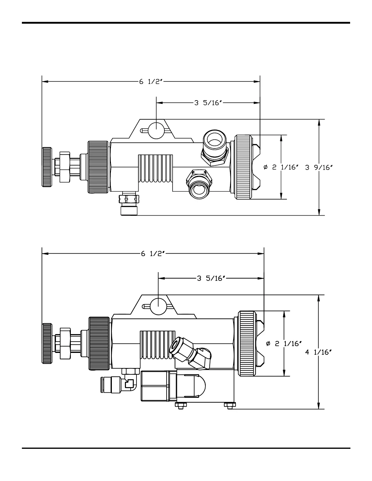
Spray Gun Installation Guidelines cont.
3M™ Series 56 HVLP Automatic Spray Gun
3M™ Series 57 HVLP Automatic Spray Gun

Related product manuals