EasyManua.ls Logo

3M Series 52 - Series 56 HVLP Parts Identification

3M Series 52
42 pages
To Next Page IconTo Next Page
To Next Page IconTo Next Page
To Previous Page IconTo Previous Page
To Previous Page IconTo Previous Page
Loading...
27
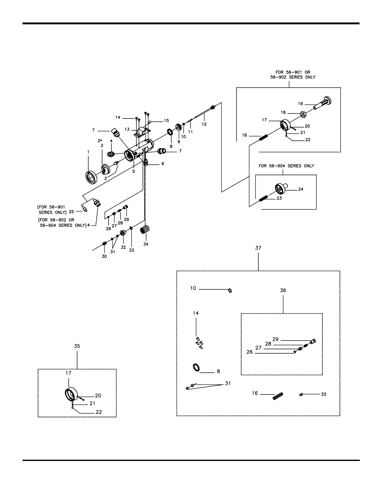
3M™ Series 56 HVLP Automatic Spray Gun Parts Identification

Related product manuals