EasyManua.ls Logo

A.O. Smith BTH 199 - Page 42

A.O. Smith BTH 199
65 pages
Print Icon
To Next Page IconTo Next Page
To Next Page IconTo Next Page
To Previous Page IconTo Previous Page
To Previous Page IconTo Previous Page
Loading...
A. O. Smith Water Products Company Service Handbook
Irving, Texas 2000©
Training Department
41
CYCLONE XHE
®
MODEL
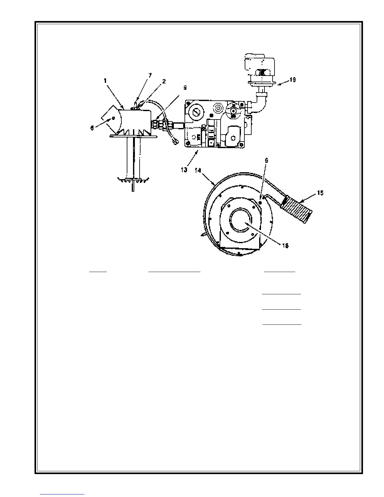
BTH-120 BURNER & BLOWER PARTS LIST - SERIES 966
ITEM DESCRIPTION BTH-120
1 ..................... Burner ........................................ 194114-003
2 ..................... Igniter Assembly........................ 192638-000
6 ..................... Barb, Hose, 3/16" ...................... 181863-000
7 ..................... Flame Rod Assembly ................ 192478-000
9 ..................... Orifice ......................................... 192477-003
13 ................... Valve, Gas .................................. 192966-000
14 ................... Blower ........................................ 193341-000
15 ................... Tube, Air ..................................... 192469-010
18 ................... Flange Assembly, Inlet .............. 192886-001
19 ................... Low Gas Pressure Switch. ....... 191149-001
Parts numbers underlined are recommended stock items
for emergency replacement.

Related product manuals