EasyManua.ls Logo

Aastra 430 - Page 268

Aastra 430
592 pages
Print Icon
To Next Page IconTo Next Page
To Next Page IconTo Next Page
To Previous Page IconTo Previous Page
To Previous Page IconTo Previous Page
Loading...
Call routing
268
System functions and features as of R3.0
syd-0367/1.3 – R3.0 – 03.2013
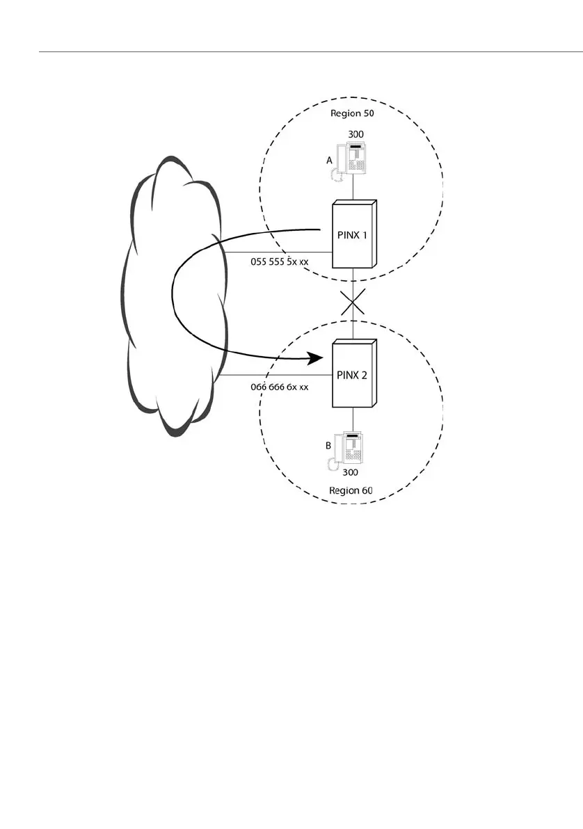
Configuration example
Fig. 119 Configuration example of overflow routing via the public network
In PINX 1’s numbering plan, the PISN users of PINX 2 are entered according to the
principle 60xxx.
The numbers of the internal users match with their direct dial numbers (user B has
internal number 300 and direct dial number 300).
Setting LCR to PINX 1:
The digit sequence "60" is entered in the LCR table:
All outgoing, PISN-internal calls whose phone number begins with "60" will be
analysed by LCR.
In the routing table the entry for the first network provider stays blank. However,
an alternative network provider is entered.

Table of Contents

Other manuals for Aastra 430

Related product manuals