EasyManua.ls Logo

ABB HXR Series - Page 120

ABB HXR Series
147 pages
Print Icon
To Next Page IconTo Next Page
To Next Page IconTo Next Page
To Previous Page IconTo Previous Page
To Previous Page IconTo Previous Page
Loading...
Manual for Induction Motors and Generators
Trouble Shooting - 105
3BFP 000 050 R0101 REV E
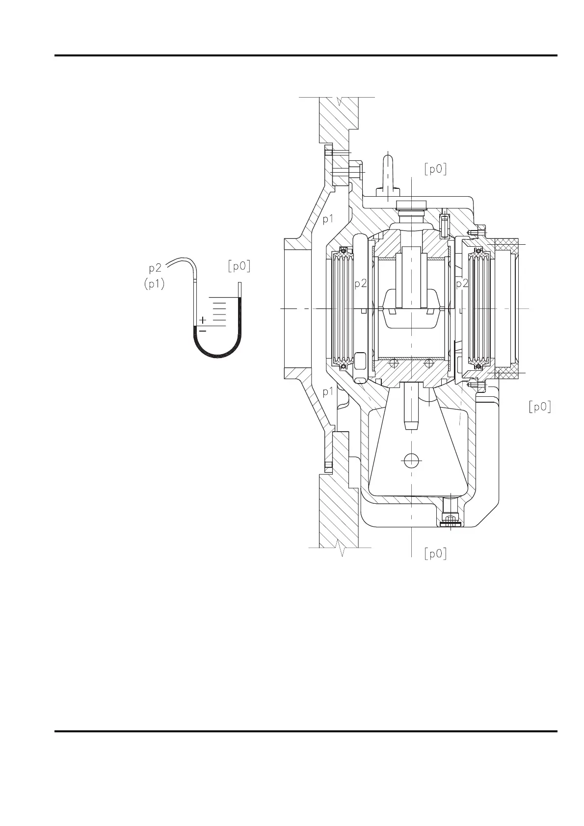
Figure 8-1 Verification of air pressure inside and outside of a sleeve bearing
If a large under pressure is found to be inside the machine, e.g. between the end shield and the
machine seal, the situation is tricky; it is normally very difficult to remove the machine seal, and
to re-seal it.
NOTE: In no case should a breather be installed to remedy under pressure in the bearing, as it
will only make the leakage worse.

Table of Contents

Related product manuals