EasyManua.ls Logo

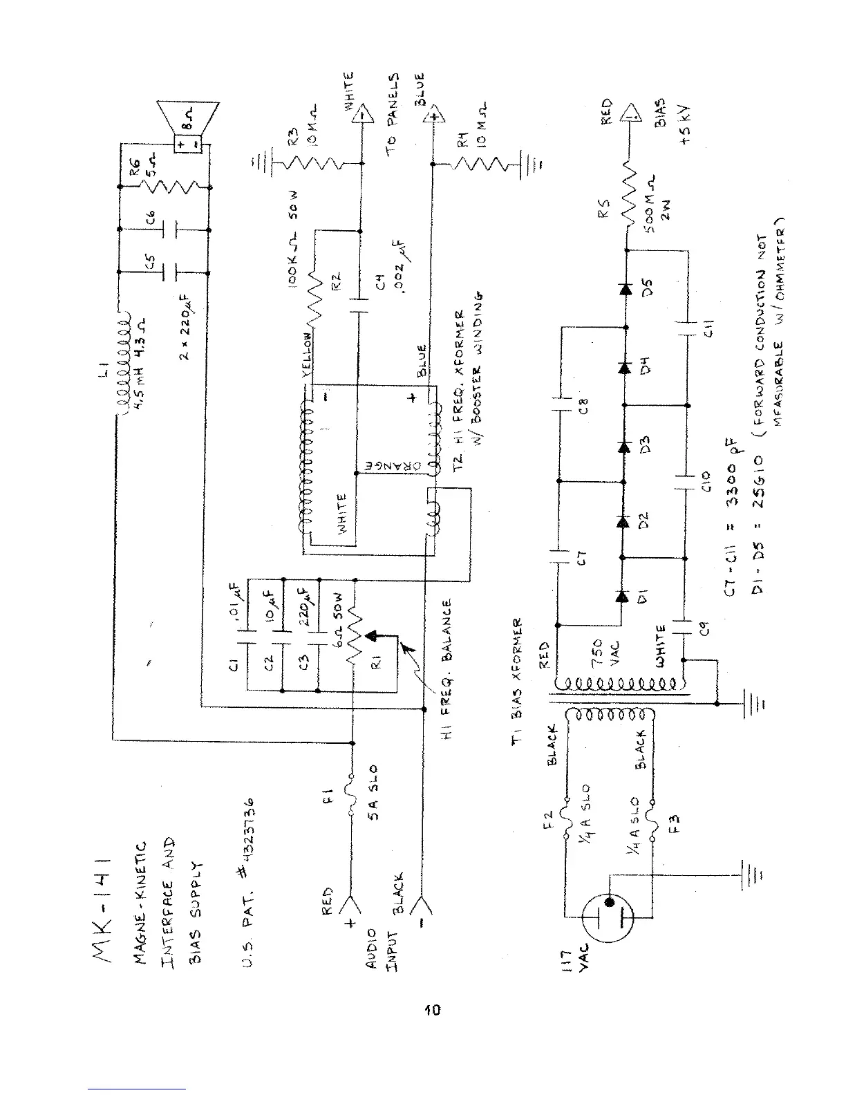
Acoustat ONE - MK-141 Schematic and Components; MK-141 Interface Schematic

Default Icon
14 pages
Print Icon
To Next Page IconTo Next Page
To Next Page IconTo Next Page
To Previous Page IconTo Previous Page
To Previous Page IconTo Previous Page
Loading...

Related product manuals