EasyManua.ls Logo

ACT Technology ACTSmart 2 1070 - Actsmart Network Installation Diagram

ACT Technology ACTSmart 2 1070
24 pages
Print Icon
To Next Page IconTo Next Page
To Next Page IconTo Next Page
To Previous Page IconTo Previous Page
To Previous Page IconTo Previous Page
Loading...
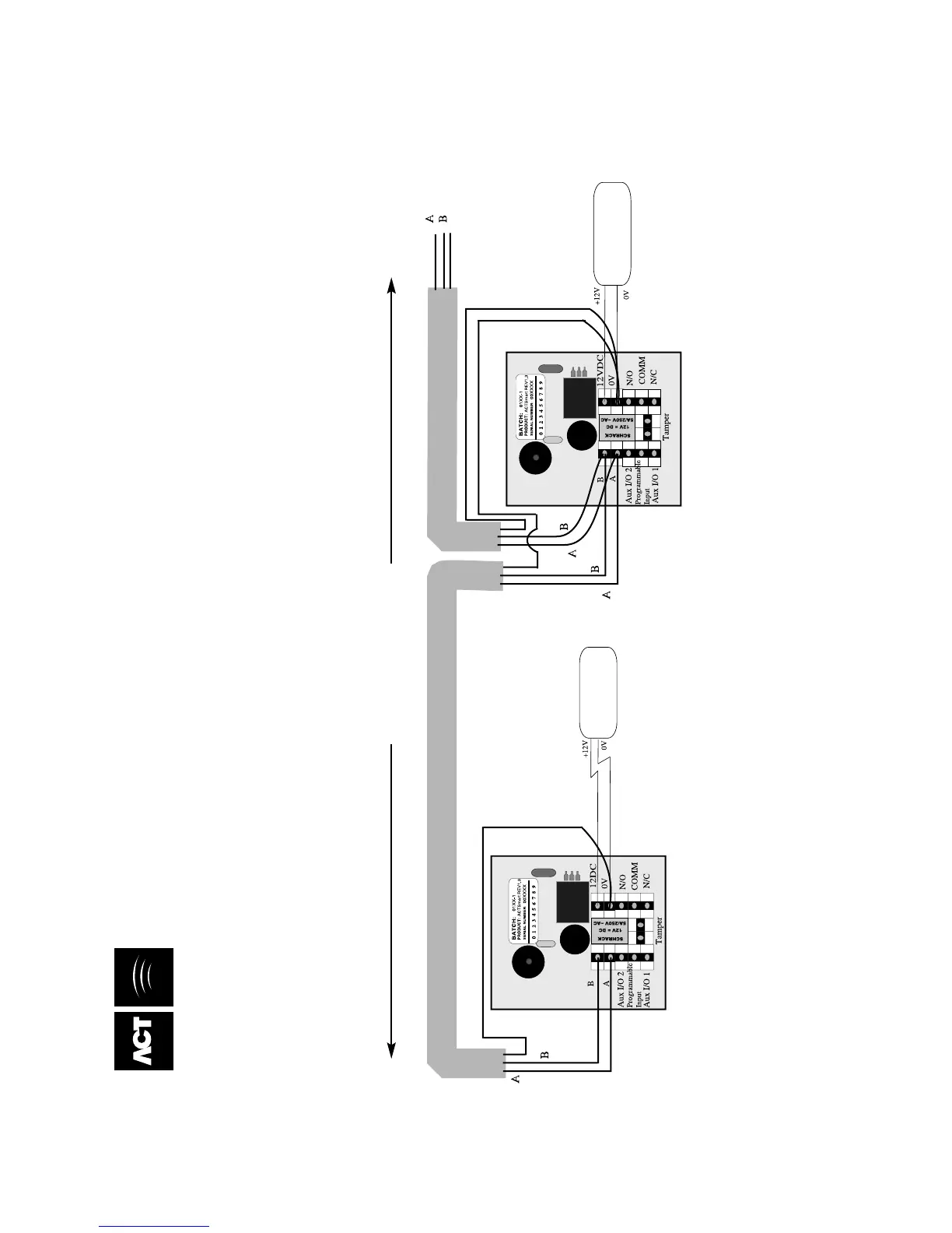
ACTSmart Network Installation Diagram
Note:
When networking the ACTSmart units,
common the 0V of each ACTSmart to avoid
ground loop issues.
Network cable is single shielded twisted pair, Belden 9501 or similar.
Total cable length
maximum 1.4km
Continue daisy chain to
remaining ACTSmart units
on the network (maximum 8).
SHIELD
SHIELDS
Access Control Technology, Unit 8, Tallaght Business Park, Whitestown, Dublin 24, Ireland.
Tel: 353-1-4622585 Fax: 353-1-4622587 Web: http://www.accesscontrol.ie E-mail: sales@accesscontrol.ie
DC Power
Supply Unit
DC Power
Supply Unit
SHIELD
Do NOT use AC Power Supply.
MUST be 12V or 24V DC.
20