EasyManua.ls Logo

Addison RCA051 - Page 17

Default Icon
28 pages
Print Icon
To Next Page IconTo Next Page
To Next Page IconTo Next Page
To Previous Page IconTo Previous Page
To Previous Page IconTo Previous Page
Loading...
17
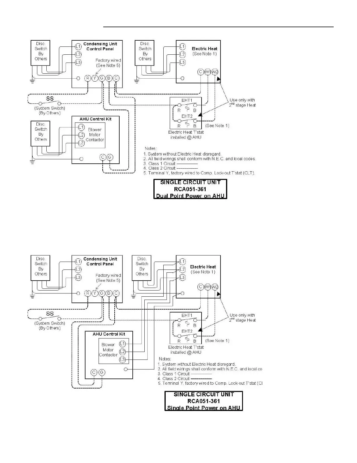
FIELD WIRING DIAGRAM

Related product manuals