EasyManua.ls Logo

ADF 100 DUO - Page 16

ADF 100 DUO
29 pages
Print Icon
To Next Page IconTo Next Page
To Next Page IconTo Next Page
To Previous Page IconTo Previous Page
To Previous Page IconTo Previous Page
Loading...
16
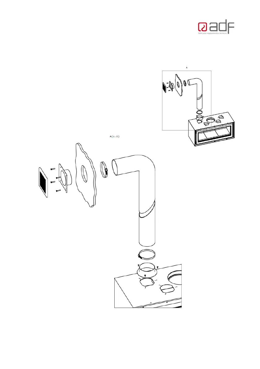
F
it a Ducting collar to the top of the fire box and fit ducting as required (From other supplier).