EasyManua.ls Logo

AEG DC7013001M - Product Description; Control Panel

AEG DC7013001M
32 pages
Print Icon
To Next Page IconTo Next Page
To Next Page IconTo Next Page
To Previous Page IconTo Previous Page
To Previous Page IconTo Previous Page
Loading...
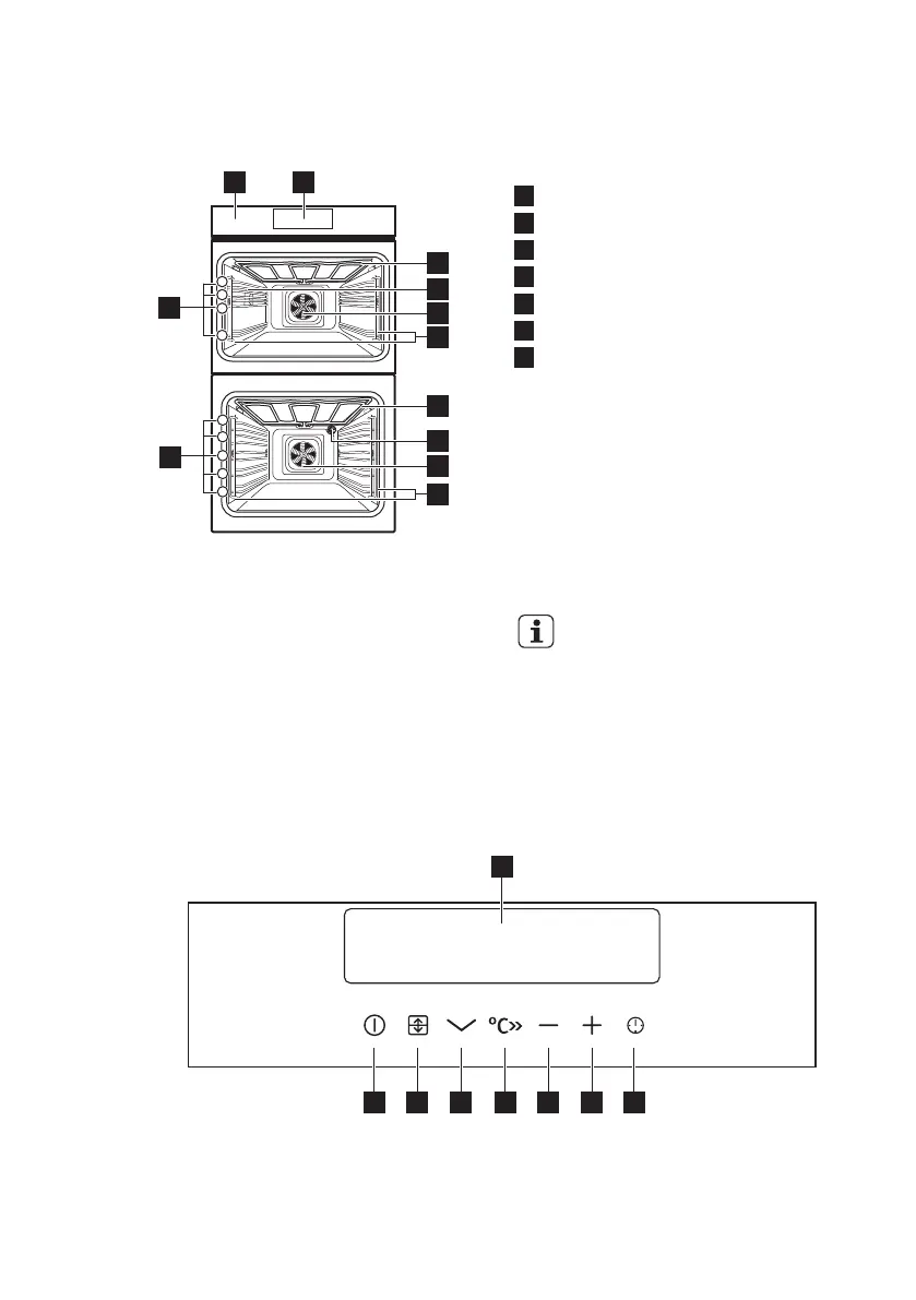
3. PRODUCT DESCRIPTION
3.1 General overview
3
3
5
5
4
4
21
1
2
3
4
7
7
1
2
3
4
5
6
6
1
Control panel
2
Electronic programmer
3
Heating element
4
Lamp
5
Fan
6
Shelf support, removable
7
Shelf positions
3.2 Accessories
Wire shelf
For cookware, cake tins, roasts.
Grill- / Roasting pan
To bake and roast or as pan to collect
fat.
Trivet
For roasting and grilling.
Use the trivet only with
the Grill- / roasting pan.
Telescopic runners
For shelves and trays.
4. CONTROL PANEL
4.1 Electronic programmer
8 7 6 5 4 3 2
1
ENGLISH 7

Related product manuals