EasyManua.ls Logo

AEG FEB52600ZD - Bedieningspaneel

AEG FEB52600ZD
Print Icon
To Next Page IconTo Next Page
To Next Page IconTo Next Page
To Previous Page IconTo Previous Page
To Previous Page IconTo Previous Page
Loading...
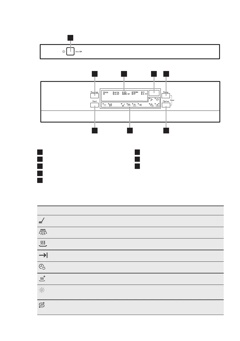
4. BEDIENINGSPANEEL
1
2 4 5
68
3
7
1
Aan/uit-toets
2
Program-toets
3
Programma-indicatielampjes
4
Weergave
5
Delay-toets
6
Option-toets
7
Indicatielampjes
8
Start-toets
4.1 Indicatielampjes
Aanduiding Beschrijving
Wasfase. Gaat aan wanneer de wasfase loopt.
Spoelfase. Gaat aan wanneer de spoelfase loopt.
Droogfase. Gaat aan wanneer de droogfase loopt.
Einde-indicatielampje.
TimeSaver-indicatielampje.
XtraDry-indicatielampje.
Glansmiddelindicatielampje. Dit indicatielampje is altijd uit als het pro-
gramma in werking is.
Zoutindicatielampje. Dit indicatielampje is altijd uit als het programma in
werking is.
NEDERLANDS 7

Related product manuals