EasyManua.ls Logo

AEG FFB83707PM - Control Panel

AEG FFB83707PM
28 pages
Print Icon
To Next Page IconTo Next Page
To Next Page IconTo Next Page
To Previous Page IconTo Previous Page
To Previous Page IconTo Previous Page
Loading...
3.1 Internal light
The appliance has an internal lamp. It
comes on when you open the door or
switch the appliance on while the door is
open.
The lamp goes off when you close the
door or switch the appliance off.
Otherwise, it goes off automatically after
some time to save energy.
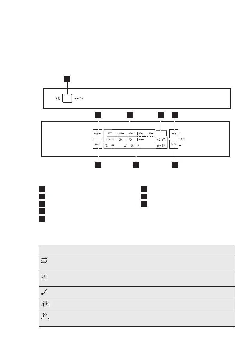
4. CONTROL PANEL
1
2 4 53
68 7
1
On/off button
2
Program touch button
3
Programme indicators
4
Display
5
Delay touch button
6
Option touch button
7
Indicators
8
Start touch button
4.1 Indicators
Indicator Description
Salt indicator. It is on when the salt container needs refilling. It is always
off while the programme operates.
Rinse aid indicator. It is on when the rinse aid dispenser needs refilling. It
is always off while the programme operates.
Washing phase indicator. It is on when the washing phase operates.
Rinsing phase indicator. It is on when the rinsing phase operates.
Drying phase indicator. It is on when you select a programme with the dry‐
ing phase. It flashes when the drying phase operates.
ENGLISH 7

Related product manuals