EasyManua.ls Logo

AERMEC TS 63 - Collegamenti Elettrici

AERMEC TS 63
Print Icon
To Next Page IconTo Next Page
To Next Page IconTo Next Page
To Previous Page IconTo Previous Page
To Previous Page IconTo Previous Page
Loading...
10
Italiano
ITSLJ 1002 - 5964000_04
CARATTERISTICHE DEI CAVI DI
COLLEGAMENTO
Usare cavi tipo H05V-K oppure N07V-K
con isolamento 300/500 V incassati in
tubo o canalina.
Spessore minimo del cavo di linea:
1,5mm.
Tutti i cavi devono essere incassati in
tubo o canalina finchè non sono all’in-
terno dell'unità di trattamento dell'aria.
I cavi all’uscita dal tubo o canalina
devono essere posizionati in modo da
non subire sollecitazioni a trazione o
torsione e comunque protetti da agenti
esterni.
Cavi a trefolo possono essere usati solo
con capicorda. Assicurarsi che i trefoli
dei fili siano ben inseriti.
Gli schemi elettrici sono soggetti ad un
continuo aggiornamento, è obbligato-
rio quindi fare riferimento a quelli a
bordo macchina.
Per proteggere l’unità contro i cor-
tocircuiti, montare sulla linea di ali-
mentazione un interruttore onnipola-
re magnetotermico (vedi tabella) con
distanza minima di apertura dei contat-
ti di 3mm.
Le unità richiedono un pannello comadi
(accessorio) da collegare come indicato
negli schemi elettrici e nelle istruzioni
fornite con il pannello comandi.
Il pannello comandi deve essere com-
patibile con l'unità, consultare la docu-
mentazione tecnica delle unità TS per
la scelta.
Ogni pannello comandi può controllare
una sola unità.
Il pannello comandi non può essere
montato su una parete metallica, salvo
che questa sia collegata alla presa di
terra in modo permanente.
ATTENZIONE: verificare se l’installa-
zione é stata eseguita in modo corretto.
Seguire le procedure di verifica indica-
te nei manuali dei pannelli comandi.
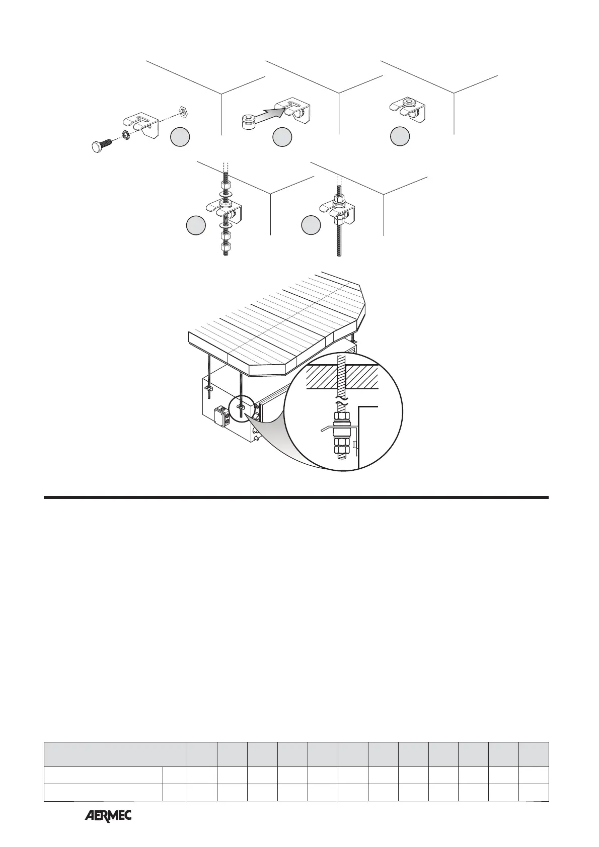
COLLEGAMENTI ELETTRICI
MONTAGGIO STAFFE
TS
13 16 23 34 36 43 46 53 56 63
635V
74
745V
76
765V
Corrente massima assorbita [A] 1 1 1,9 1,9 1,9 2,6 2,6 2,6 2,6 3,9 5,5 5,5
IM (curva C) [A] 223334444688
Dimensionamento interruttore onnipolare magnetotermico (IM)

Table of Contents

Related product manuals