EasyManua.ls Logo

AERMEC TS 63 - Conexiones Eléctricas

AERMEC TS 63
Print Icon
To Next Page IconTo Next Page
To Next Page IconTo Next Page
To Previous Page IconTo Previous Page
To Previous Page IconTo Previous Page
Loading...
34
Español
ITSLJ 1002 - 5964000_04
Interruptor omnipolar magnetotérmico (IM)
CARACTERÍSTICAS DE LOS CABLES DE
CONEXIÓN
Usar cables tipo H05V-K o bien N07V-K
con aislamiento 300/500 V cubiertos
por tubo o canaleta.
Grosor mínimo del cable de línea:
1,5mm.
Los cables deben estar cubiertos por
tubo o canaleta en todo su recorrido
fuera de tratamiento del aire.
En el punto de salida del tubo o cana-
leta, los cables no deben estar suje-
tos a esfuerzos de tracción o torsión y
siempre deben estar protegidos frente a
agentes externos.
Los cables trenzados sólo pueden uti-
lizarse sujetando firmemente cada haz
de cables a terminales adecuados.
Los esquemas eléctricos están sujetos a
actualización constante, es por lo tanto
obligatorio tomar como referencia los
que se han implantado en el aparato en
concreto.
Para proteger la unidad frente a cor-
tocircuitos, montar en la línea de ali-
mentación un interruptor omnipolar
magnetotérmico (ver tabla) con una
distancia mínima de apertura de con-
tactos igual a 3mm.
Las unidades precisan un panel de man-
dos (accesorio) que debe conectarse
siguiendo los esquemas eléctricos y las
instrucciones del panel de mandos.
El panel de mandos debe ser compati-
ble con la unidad, consultar la docu-
mentación técnica de las unidades TS
para escoger el más adecuado.
Cada panel de mandos puede controlar
una sola unidad.
El panel de mandos no puede ser ins-
talado en una pared metálica, a menos
que permanentemente esté conectada
a una toma de tierra.
ATENCIÓN: comprobar que la instala-
ción haya sido efectuada correctamen-
te. Seguir los procedimientos de prueba
indicados en los manuales de los pane-
les de mandos.
CONEXIONES ELÉCTRICAS
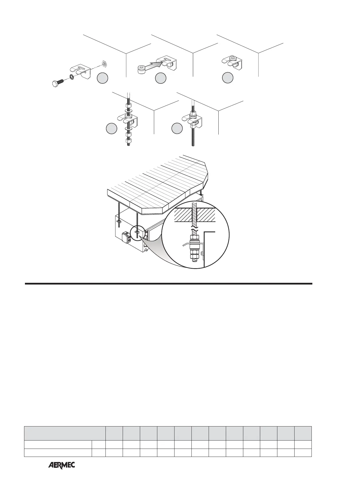
MONTAJE SOPORTES
TS 13 16 23 34 36 43 46 53 56 63
635V
74
745V
76
765V
Corriente máx. absorbida [A] 1 1 1,9 1,9 1,9 2,6 2,6 2,6 2,6 3,9 5,5 5,5
IM (curva C) [A] 223334444688

Table of Contents

Related product manuals