EasyManua.ls Logo

AERMEC TS 63 - Electrical Connections and Protection; Cable Requirements and Wiring; Circuit Breaker Protection

AERMEC TS 63
Print Icon
To Next Page IconTo Next Page
To Next Page IconTo Next Page
To Previous Page IconTo Previous Page
To Previous Page IconTo Previous Page
Loading...
16
English
ITSLJ 1002 - 5964000_04
FEATURES OF THE CONNECTION
CABLES
Use H05V-K or N07V-K type cables
with 300/500 V insulation enclosed in a
pipe or duct.
Minimum thickness of the line cable:
1.5mm.
All cables must be enclosed in a pipe
or duct until they are inside the air han-
dling unit.
The cables exiting the pipe or duct must
be positioned in a way so that they do
not undergo pulling or twisting and are
protected against external agents.
Wire strand cables can only be used
with a tag board. Ensure that the wire
strands are introduced correctly.
The wiring diagrams are subject to con-
tinuous updating, it is therefore com-
pusory to refer to that on the machine.
To protect the unit against short circu-
its, mount an omnipolar magnet-circuit
breaker protection on the power supply
line (see table), with minimum contact
opening distance of 3mm.
The units require a command panel
(accessory) to be connected as indi-
cated in the wiring diagrams and the
instructions supplied with the command
panel.
The command panel must be compati-
ble with the unit, consult the technical
documentation of the TS unit for selec-
tion.
Each command panel can control just
one unit.
The command panel cannot be
mounted on a metal wall, unles this is
connected to earth permanently .
ATTENTION: check that installation
has been performed correctly. Follow
the control procedures indicated in the
command panel manuals.
ELECTRIC CONNECTIONS
Omnipolar magnet-circuit breaker protection (IM)
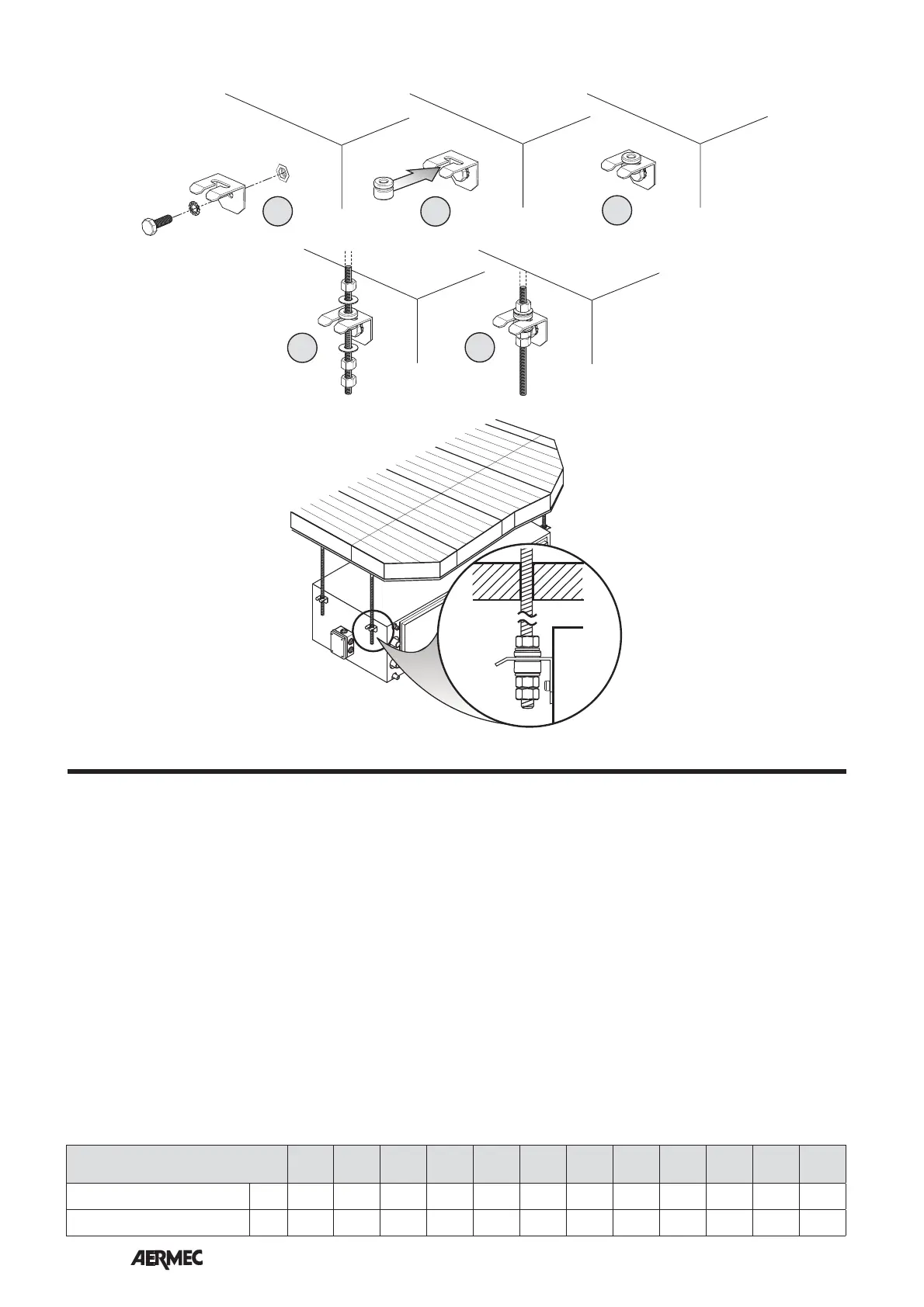
BRACKET ASSEMBLY
TS
13 16 23 34 36 43 46 53 56 63
635V
74
745V
76
765V
Max. input current [A] 1 1 1,9 1,9 1,9 2,6 2,6 2,6 2,6 3,9 5,5 5,5
IM (curve C) [A] 223334444688

Table of Contents

Related product manuals