EasyManua.ls Logo

AERMEC TS 63 - Raccordements Électriques

AERMEC TS 63
Print Icon
To Next Page IconTo Next Page
To Next Page IconTo Next Page
To Previous Page IconTo Previous Page
To Previous Page IconTo Previous Page
Loading...
22
Français
ITSLJ 1002 - 5964000_04
Interrupteur omnipolaire thermomagnétique (IM)
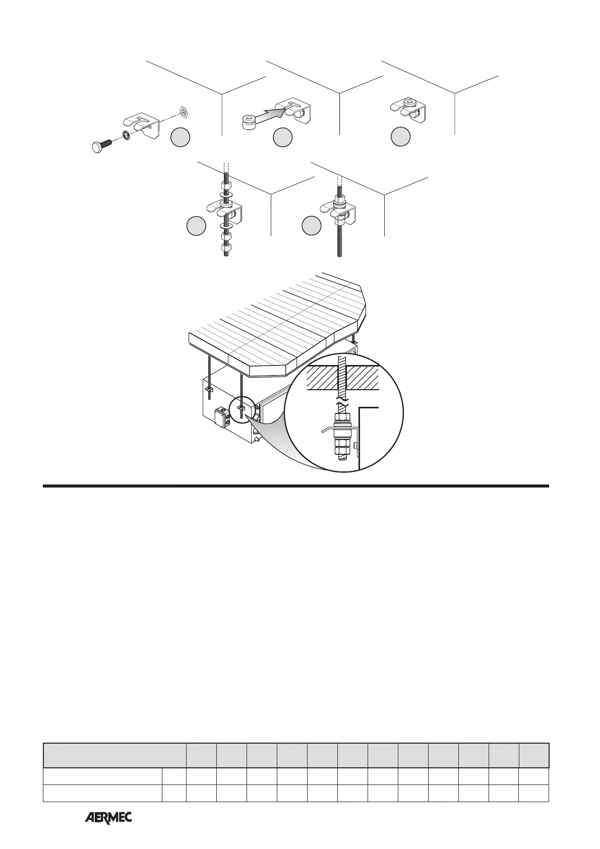
MONTAGE DE BRIDES
CARACTERISTIQUES DES CABLES DE
CONNEXION
Utiliser des câbles type H05V-K ou
N07V-K avec isolation 300/500 V
encastrés à l'intérieur de tuyau ou cani-
veau.
Epaisseur minimum du câble de ligne:
1,5mm.
Tous les câbles doivent être encastrés
dans un tuyau ou caniveau tant qu'
ils ne sont pas à l'intérieur du ventilo-
convetcteur.
Les câbles à la sortie du tuyau ou cani-
veau doivent être positionnés de façon
à ne pas subir de contraintes de traction
ou de torsion et ils doivent dans tous les
cas être protégés des agents externes.
Les câbles brins ne peuvent être utilisés
qu'avec cosse. S'assurer que les brins
de fils soient bien insérés.
Les schémas électriques sont continuel-
lement mis à jour, il est par conséquent
obligatoire de consulter ceux à bord de
la machine.
Pour protéger l'unité contre les court-
circuits, monter sur la ligne d'alimen-
tation un interrupteur omnipolaire
thermomagnétique (voir tableau) avec
une distance minima d'ouverture des
contacts de 3mm.
Les unités requièrent un panneau de
commandes (accessoire) à connecter
comme indiqué sur les schémas élec-
triques et dans les instructions fournies
avec le panneau de commandes.
Le panneau de commandes doit être
compatible avec l'unité, consulter la
documentation technique des ventilo-
convecteurs à pression TS pour choisir.
Chaque panneau de commandes ne
peut contrôler qu'une seule unité.
Le panneau de commandes ne peut pas
être monté sur une paroi métallique,
sauf si celle-ci est reliée à une prise de
terre de façon permanente.
ATTENTION: vérifier si l'installation
a été effectuée de façon correcte.
Suivre les procédures de vérification
indiquées dans les manuels des pan-
neaux de commandes. .
CONNEXIONS ELECTRIQUES
TS
13 16 23 34 36 43 46 53 56 63
635V
74
745V
76
765V
Courant max. absorbé [A] 1 1 1,9 1,9 1,9 2,6 2,6 2,6 2,6 3,9 5,5 5,5
IM (curve C) [A] 223334444688

Table of Contents

Related product manuals