EasyManua.ls Logo

AGFA DX-D 600 - Page 96

AGFA DX-D 600
190 pages
Print Icon
To Next Page IconTo Next Page
To Next Page IconTo Next Page
To Previous Page IconTo Previous Page
To Previous Page IconTo Previous Page
Loading...
DX- D 600
User Manual
0242F EN 20181218
88
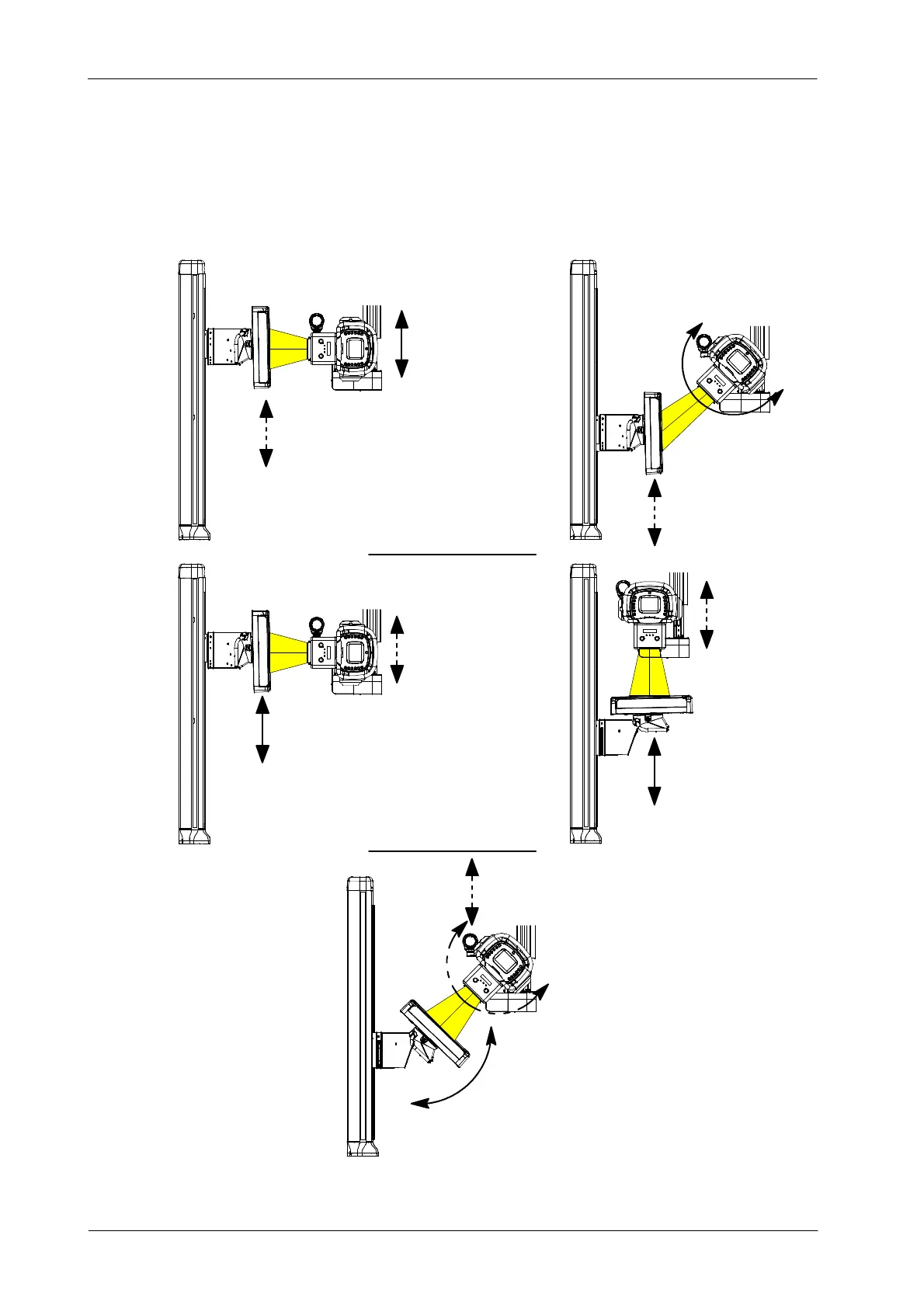
Illustration 4-24
Auto-tracking Movement Policy for Automatic System with RAD Wall Stand DR
Slave
Slave
Slave
Master
Master
Master
Slave
Master
BA
Slave
Master
C
D

Related product manuals