EasyManua.ls Logo

AGPtek A16STB - Boutons Et Contrôles; Guide Rapide

AGPtek A16STB
71 pages
Print Icon
To Next Page IconTo Next Page
To Next Page IconTo Next Page
To Previous Page IconTo Previous Page
To Previous Page IconTo Previous Page
Loading...
24
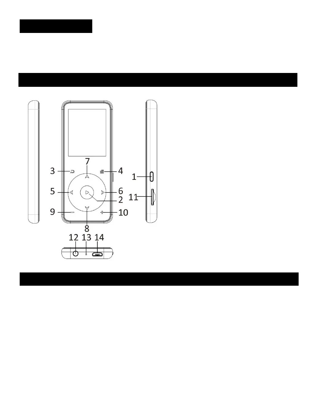
1. Allumer/Eteindre ; Affichage
écran activé / désactivé
2. Entrer/ Lire/ Pause
3. Retour
4. Menu
5. Précédent / Retour rapide
6. Suivant / Avance rapide
7. Sélection Haut
8. Sélection Bas
9. Volume -
10. Volume +
11. Slot de carte Micro SD
12. Prise de casque
13. Trou de Mic/ Reset
14. Port micro USB
Statement
Boutons et Contrôles
Merci pour l’achat de lecteur MP3 fabriqué par AGPTEK.
Avant d'utiliser le lecteur, veuillez lire attentivement ce manuel.
Les spécifications sont sujettes à changement sans préavis.
1. Charger le lecteur
A l’aide d’un ordinateur
Connectez le lecteur à un ordinateur en cours d'exécution via un
câble USB.
Le câble USB peut être utili pour le transfert de données et la
recharge du lecteur.
A l’aide d’un chargeur USB 5V/500mA (Le chargeur n'est pas
inclus).
Branchez une extrémi du câble micro-USB dans le port USB d'un
chargeur, l'autre extrémité sur le port de votre appareil.
Guide rapide

Related product manuals