EasyManua.ls Logo

AIREDALE CUS Series - Terminal Blocks - External Connections

AIREDALE CUS Series
28 pages
Print Icon
To Next Page IconTo Next Page
To Next Page IconTo Next Page
To Previous Page IconTo Previous Page
To Previous Page IconTo Previous Page
Loading...
CUS 15 - 60 / HCU 20 ² 30D
Condensing Units
Chiller & Condensing Units
Installation & Maintenance:Part No: 6259592 IM 07\14
18
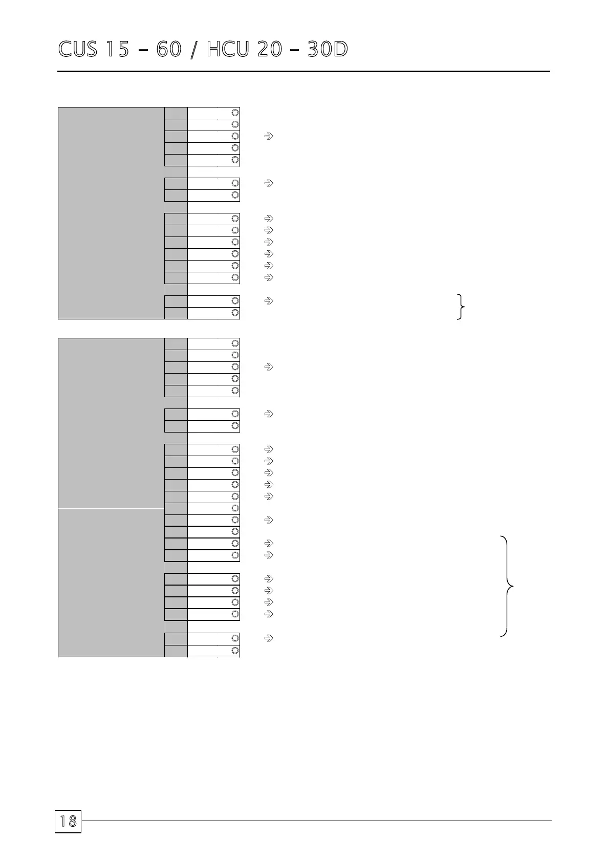
Field Connections
CUS 15-30
&
HCU 20-30 UNITS
L1
{
L2
{
L3
{
Î
Mains Incoming
N
{
400/3/50
E
{
L4
{
Î
L4-N1 Permanent Supply
N1
{
230/1/50
500
{
Î
0V
502
{
Î
9$&&XVWRPHU¶V&RQWURO
530
{
Î
502-530 Stage Two Cool - Customer's Control
535
{
Î
502-535 Stage One Cool - Customer's Control
531
{
Î
531-500 Liquid Line Solenoid - Circuit 2
Customer
Supply
532
{
Î
532-500 Liquid Line Solenoid - Circuit 1
526
{
Î
526-527 Common Volt Free Alarm N/O Contact
527
{
CUS 40-60 UNITS
L1
{
L2
{
L3
{
Î
Mains Incoming
N
{
400/3/50
E
{
L4
{
Î
L4-N1 Permanent Supply
N1
{
230/1/50
500
{
Î
0V
502
{
Î
24VAC - &XVWRPHU¶V&RQWURO
506
{
Î
502-506 Stage One Cool - Customer's Control
513
{
Î
502-513 Stage Two Cool - Customer's Control
522
{
Î
522-552 Stage Three Cool - Customer's Control
552
{
523
{
Î
523-555 Stage Four Cool - Customer's Control
555
{
507
{
Î
507-500 Liquid Line Solenoid 1 - Circuit 1
Customer
Supply
514
{
Î
514-500 Liquid Line Solenoid 2 - Circuit 2
507
{
Î
507-500 Liquid Line Solenoid 1 - Comp 1, Circuit 1
514
{
Î
514-500 Liquid Line Solenoid 2 - Comp 1, Circuit 2
522
{
Î
522-500 Liquid Line Solenoid 3 - Comp 2, Circuit 1
523
{
Î
523-500 Liquid Line Solenoid 4 - Comp 2, Circuit 2
526
{
Î
526-527 Common Volt Free Alarm N/O Contact
527
{

Related product manuals