EasyManua.ls Logo

AirSense 310e - Duct Sampling Option; Duct Sampling Overview

AirSense 310e
20 pages
Print Icon
To Next Page IconTo Next Page
To Next Page IconTo Next Page
To Previous Page IconTo Previous Page
To Previous Page IconTo Previous Page
Loading...
AirSense Model 310e Operator’s Manual
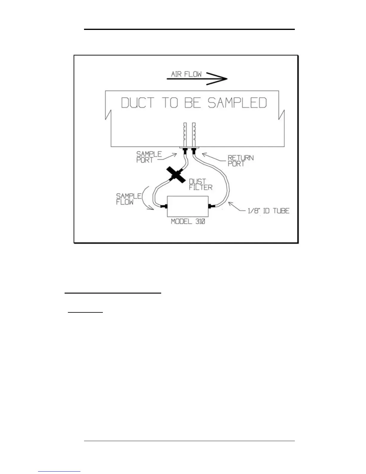
Figure 3: Duct Sampling Schematic
Duct Sampling Option
Overview
The duct sampling option is used to divert a portion of the
duct airflow through the Model 310e. The difference
between the total pressure at the upstream sample port and
the static pressure at the downstream return port propels the
sample stream. Minimum recommended flow rate is 200
feet per minute.
A Model 310e with the duct sample option has a sample
draw adapter fitted to the bottom of its enclosure. The duct
probe assembly is connected to tubing nipples on the
adapter.
3/9/15 Digital Control Systems Page: 13