EasyManua.ls Logo

Akai AA-1010 - Page 8

Akai AA-1010
35 pages
Print Icon
To Next Page IconTo Next Page
To Next Page IconTo Next Page
To Previous Page IconTo Previous Page
To Previous Page IconTo Previous Page
Loading...
iti!È!
ruMre
\.
tti i
'iil
tI
tri
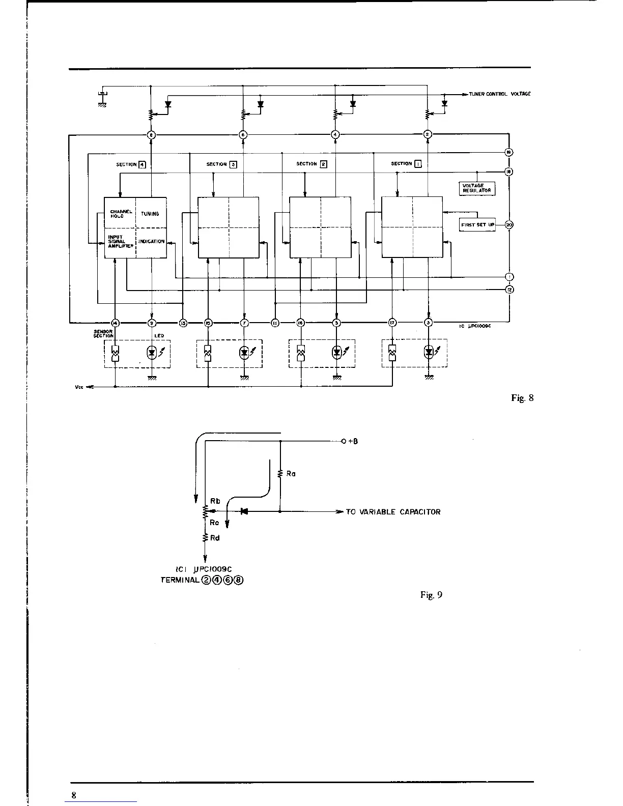
Fig. 8
lcr
lJPclo09c
TERMTNAL@@@@
TO VÀRIABLE CAPACITOR
Fig.
9

Other manuals for Akai AA-1010

Related product manuals