EasyManua.ls Logo

Akai DR16 pro - Page 28

Akai DR16 pro
167 pages
Print Icon
To Next Page IconTo Next Page
To Next Page IconTo Next Page
To Previous Page IconTo Previous Page
To Previous Page IconTo Previous Page
Loading...
1: Front and Rear Panels
Page 19
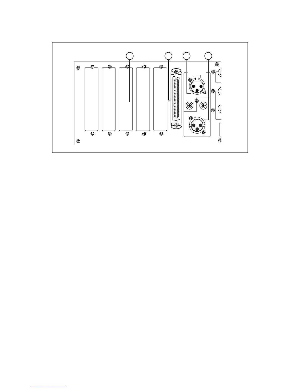
1) Option slots
These slots are for installing the following optional interface cards:
IB-802T SMPTE reader/generator board
IB-803M MIDI (IN/OUT/THRU) interface board
IB-805R RS422 interface board
IB-808G GPIO parallel interface board
IB-1616A Alesis ADAT interface board / IB-D16MA 8-in/16-out AES/EBU interface board
2) SCSI-A connection
For increased recording time, up to six external SCSI hard disks can be connected to this
connection (up to seven if the DR16pro contains no internal hard disk). See “Hard Disks” on
page 96.
3) DIGITAL I/O - IN connectors
These XLR and RCA/phono connectors are used to input AES/EBU and S/PDIF format digital
signals respectively. The active input connector is selected using the DIGI(D IN) key sub-
menu function. See “Digital Inputs” on page 33.
The stereo digital input signals from these connectors, DINL and DINR, can be selected from
SUB-MENU/INPUT SELECT as record sources for any track.
4) DIGITAL I/O - MASTER OUT connectors
These XLR and RCA/phono connectors are used to output AES/EBU and S/PDIF format
digital signals. The format of the digital output signal is set to Type I or Type II digital audio
outputs using the 2(DIGI) sub-menu function. See “Digital Outputs” on page 47.
The digital outputs are a digital duplication of the analog signal appearing at the OUTPUT -
MASTER OUT jacks. These may be connected to any stereo digital audio recorder, such as a
DAT machine, to perform a completely digital mixdown.
SCSI-A
DIGITAL I/O L/R
MASTER OUT
IN
PUSH
1 2 3 4

Table of Contents