EasyManua.ls Logo

Akai GX-630D - Tape Guide Height Adjustment

Akai GX-630D
51 pages
Print Icon
To Next Page IconTo Next Page
To Next Page IconTo Next Page
To Previous Page IconTo Previous Page
To Previous Page IconTo Previous Page
Loading...
TAPE
GUIDE
TAPE
TENSION
ARM
ADJUSTMENT
WASHER
ADJUSTMENT
WASHER
CD
%
LOWER
THE
GUIDE
DOWN
A
LITTLE
%
LIFT
THE
GUIDE
UP
A
LITTLE
Fig.
6
TAPE
GUIDE
ADJUSTMENT
WASHER
Olt
Be
KE
ED
SATAII
Ce,
re,
Fig.
7
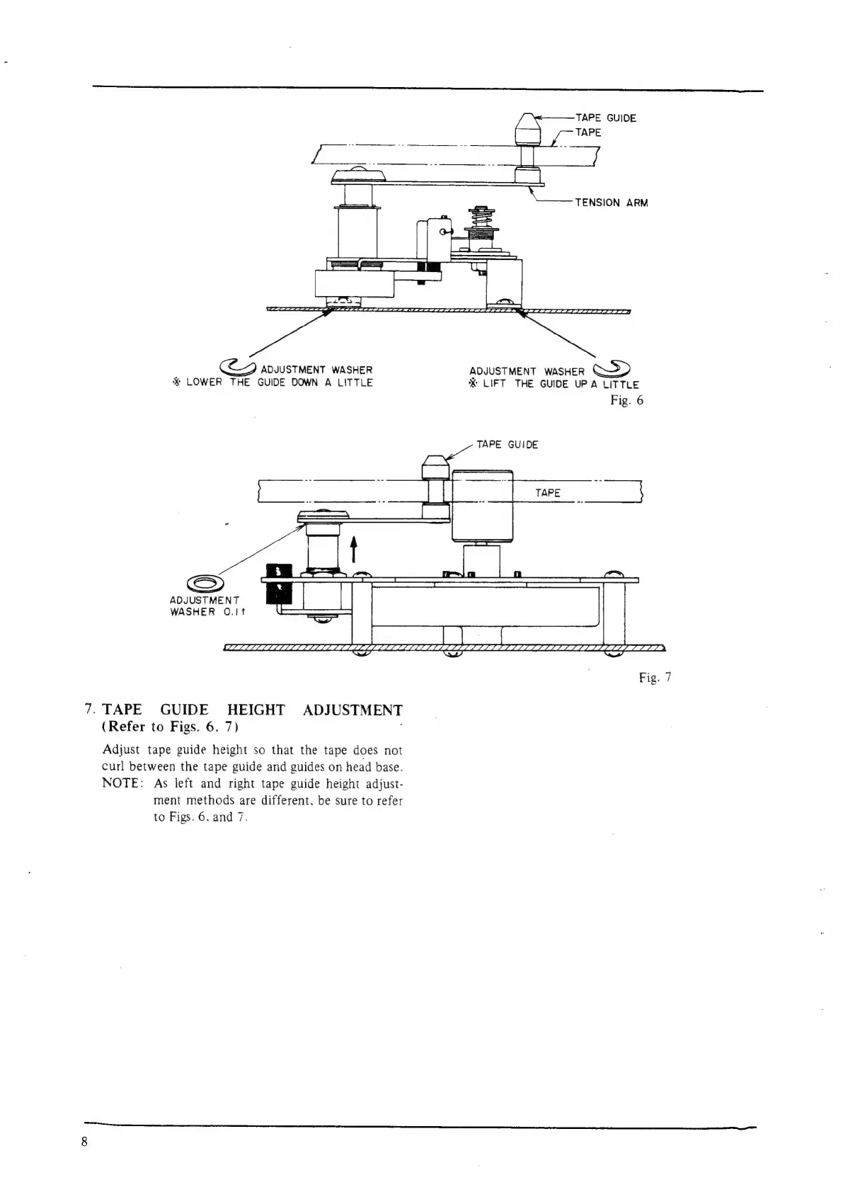
7.
TAPE
GUIDE
HEIGHT
ADJUSTMENT
(Refer
to
Figs.
6.
7)
Adjust
tape
guide
height
so
that
the
tape
does
not
curl
between
the
tape
guide
and
guides
on
head
base.
NOTE:
As
left
and
right
tape
guide
height
adjust-
ment
methods
are
different.
be
sure
to
refer
to
Figs.
6,
and
7.

Other manuals for Akai GX-630D

Related product manuals