EasyManua.ls Logo

Akai GX-77

Akai GX-77
66 pages
To Next Page IconTo Next Page
To Next Page IconTo Next Page
To Previous Page IconTo Previous Page
To Previous Page IconTo Previous Page
Loading...
a
es
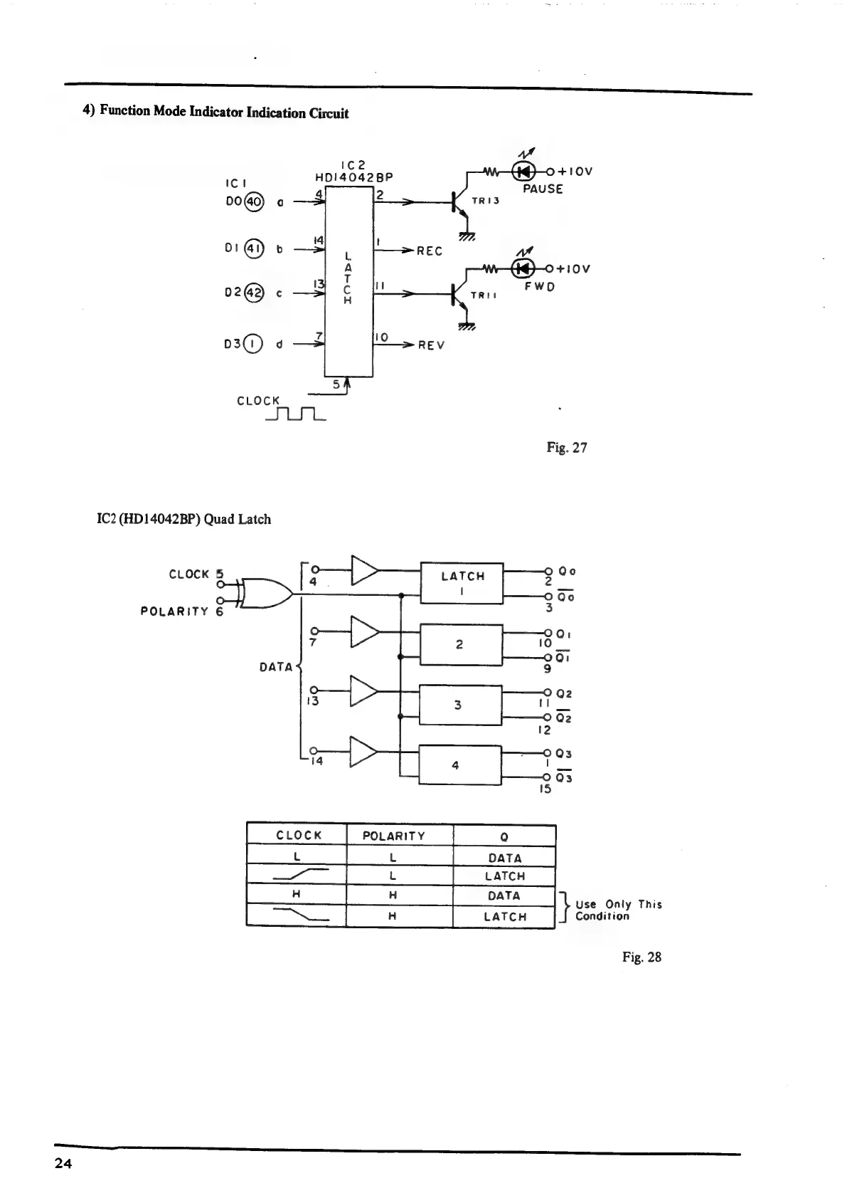
4)
Function
Mode
Indicator
Indication
Circuit
iC2
HDI40428P
IC
|
000)
01
@))
b
0242
c
a
CLOCK
Fig.
27
IC2
(HD14042BP)
Quad
Latch
CLOCK
5
O
O)
POLARITY
6
DATA
!
CLOCK
croc
|
rouamiry
|
Use
Only
This
Condition
Fig.
28
24

Other manuals for Akai GX-77

Related product manuals