EasyManua.ls Logo

AKG WMS 40 PRO Single - Page 9

AKG WMS 40 PRO Single
15 pages
Print Icon
To Next Page IconTo Next Page
To Next Page IconTo Next Page
To Previous Page IconTo Previous Page
To Previous Page IconTo Previous Page
Loading...
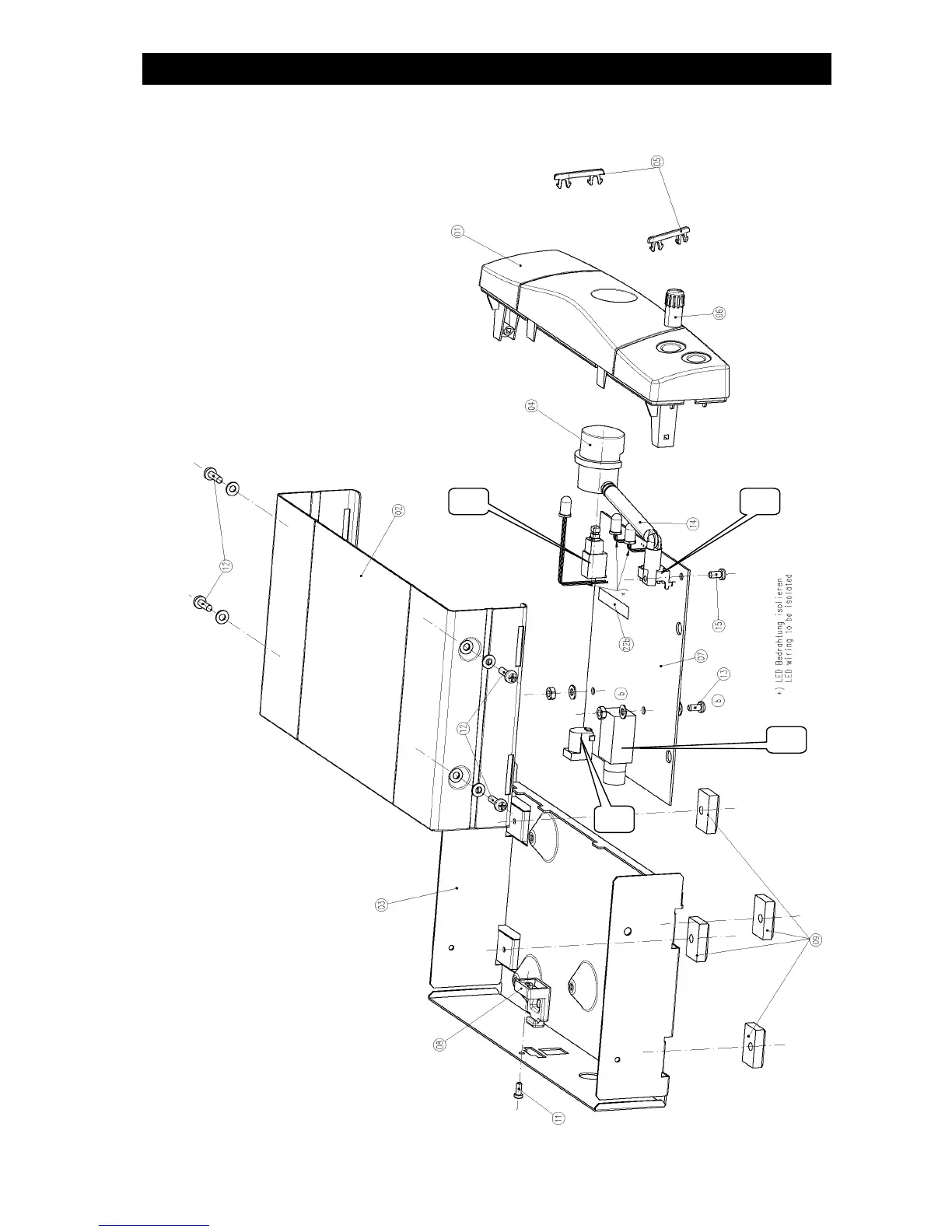
WMS 40 Service Manual
9/15
SR 40 PRO (2943Z00..)
SR 40 PRO (3190Z00..) facelift
33
32
31
30