EasyManua.ls Logo

Alamo MACHETE - VALVE ASY - 5 SPOOL (CCLS)

Default Icon
174 pages
Print Icon
To Next Page IconTo Next Page
To Next Page IconTo Next Page
To Previous Page IconTo Previous Page
To Previous Page IconTo Previous Page
Loading...
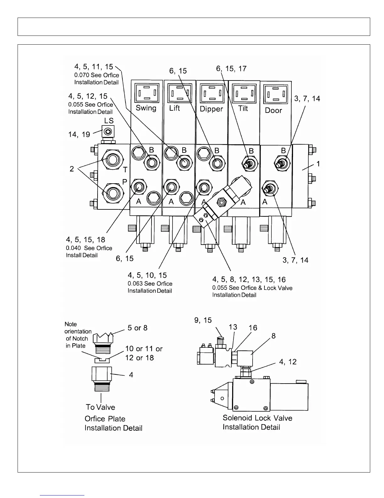
VALVE ASY - 5 SPOOL (CCLS)
©2012 Alamo Group Inc. Parts Section -163
Machete Boom 17 21 and 24 04-04 Rev 02-12

Table of Contents

Other manuals for Alamo MACHETE

Related product manuals