EasyManua.ls Logo

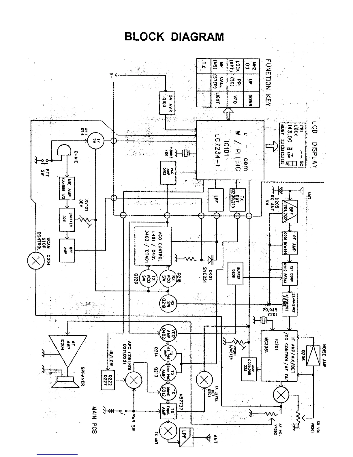
Albrecht AE 550 - Block Diagram

Albrecht AE 550
20 pages
Print Icon
To Next Page IconTo Next Page
To Next Page IconTo Next Page
To Previous Page IconTo Previous Page
To Previous Page IconTo Previous Page
Loading...

Related product manuals