EasyManua.ls Logo

Alesis QuadraSynth Plus - Page 154

Alesis QuadraSynth Plus
191 pages
Print Icon
To Next Page IconTo Next Page
To Next Page IconTo Next Page
To Previous Page IconTo Previous Page
To Previous Page IconTo Previous Page
Loading...
Editing Effects: Chapter 7
QuadraSynth Plus Piano Reference Manual 155
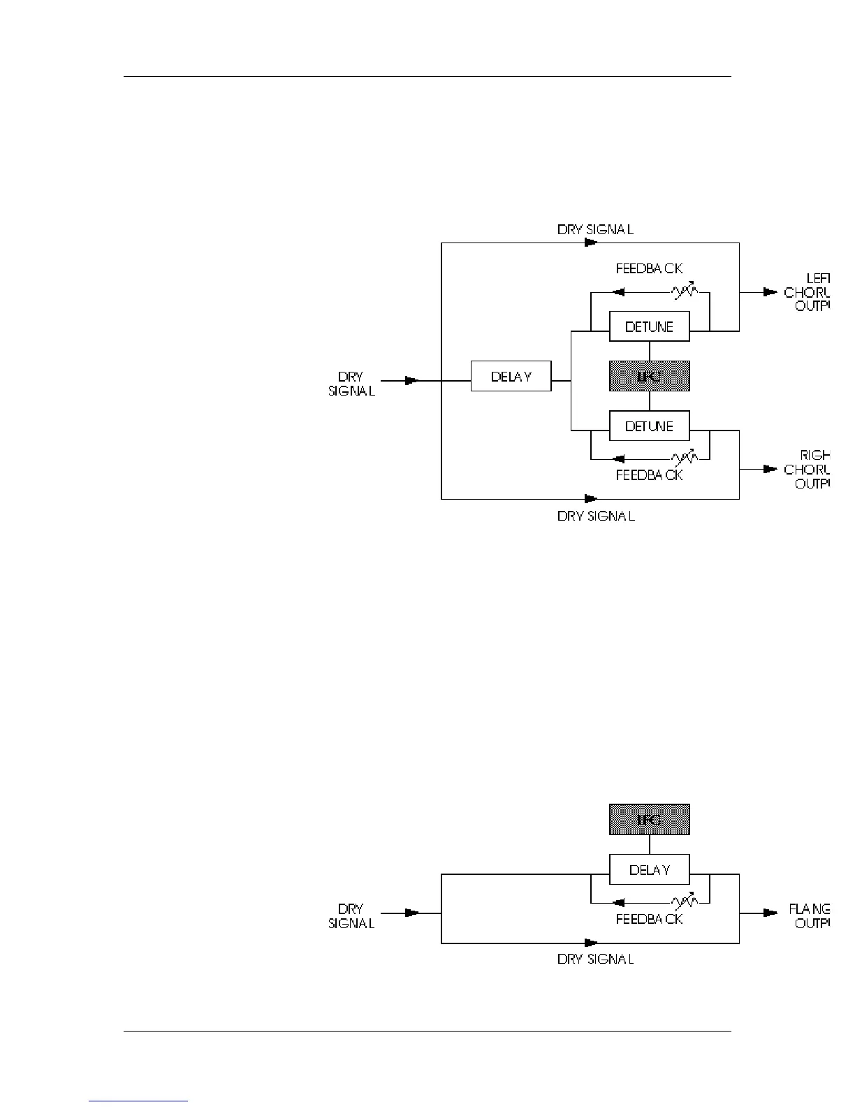
Stereo Chorus. In the case of a Stereo Chorus, the signal is split
into three parts with a dry signal and a separate Detuning
section for both left and right channels. When the left channel is
detuned sharp, the right is detuned flat, and vice versa. Once
again, this causes the effect to become more pronounced and
dramatic.
Mono Flange. First used in the 1960s, “Flanging” was achieved
by the use of two tape recorders that would record and play
back the same program in synchronization. By alternately
slowing down one tape machine, and then the other, different
phase cancellations would occur. Since the slowing down of the
tape machines was done by hand pressure against the flanges of
the tape supply reels, the term “Flanging” came into being.
The effect of Flanging is achieved by splitting and slightly
delaying one part of the signal, then varying the time delay,
again with an LFO. The delayed signal is then mixed back with
the original sound to produce the “swishing” or “tunneling”
sound.

Table of Contents

Related product manuals