EasyManua.ls Logo

Alesis QuadraSynth Plus - Page 156

Alesis QuadraSynth Plus
191 pages
Print Icon
To Next Page IconTo Next Page
To Next Page IconTo Next Page
To Previous Page IconTo Previous Page
To Previous Page IconTo Previous Page
Loading...
Editing Effects: Chapter 7
QuadraSynth Plus Piano Reference Manual 157
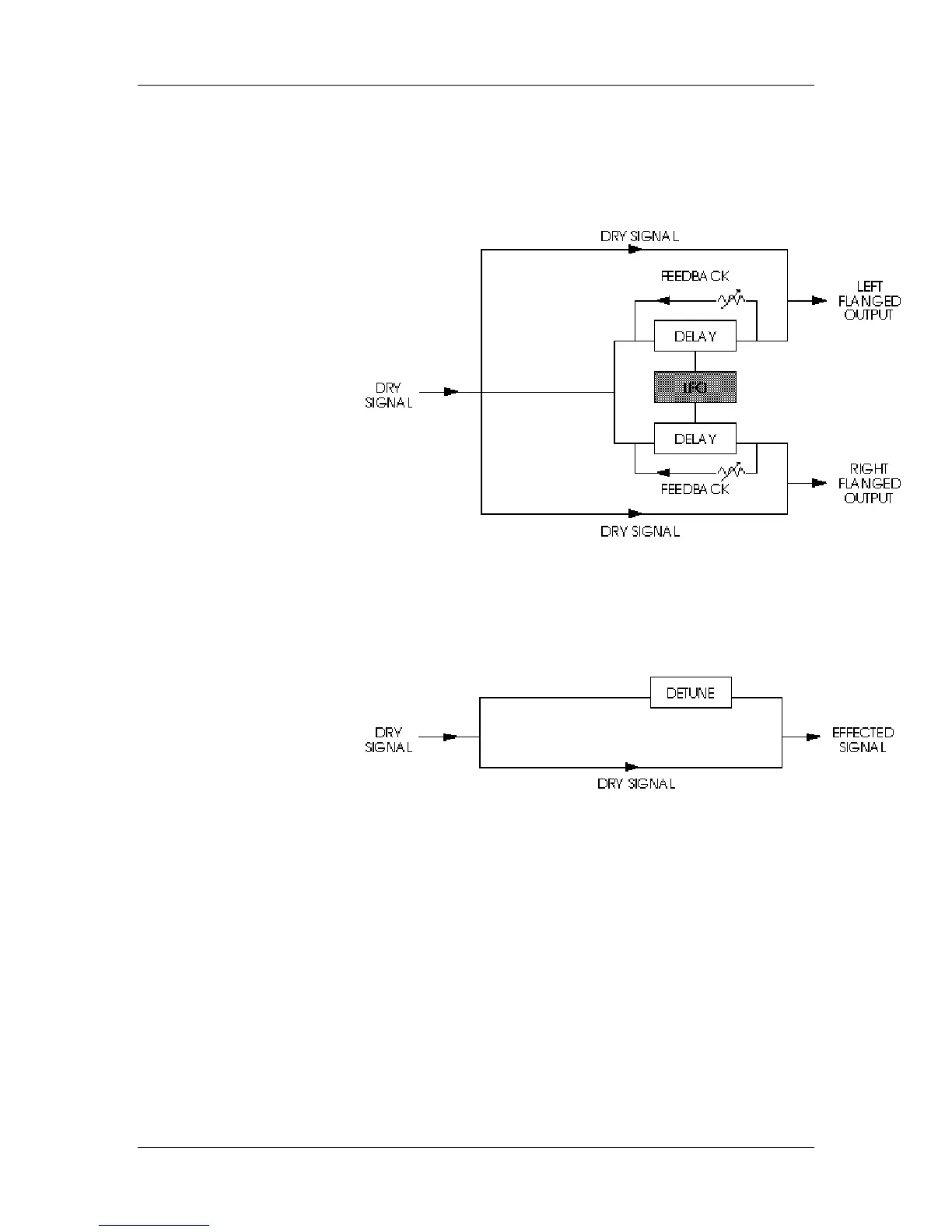
Stereo Flange. In the case of the Stereo Flange, the signal is split
into three parts with a dry signal and a separate Delay section
for both left and right channels with one channel flanging up
while the other channel flanges down. Once again, this causes
the effect to become more pronounced and dramatic.
Pitch Detune. As the name implies, Pitch Detune takes a part of
the signal and detunes it either sharp or flat. When mixed back
with the original dry signal, the popular “12 string guitar” effect
is produced.
Resonator. This can be thought of as a highly resonant filter, or
a filter that is tuned to a specific frequency with a lot of
emphasis, which will cause the frequency that the resonator is
set at to be highly accentuated.
Delay Input
Quad Knob [2] can adjust the level of the signal coming from the
Delay output going into the Pitch Input. The Delay Input
parameter is only available when editing a effects bus which has
the Delay effect ahead of the Pitch effect in the selected
Configuration (Example: Configuration #2, effect send 1).

Table of Contents

Related product manuals