EasyManua.ls Logo

allen AR16 - Steering Column, Illustration; Steering Column Assembly

allen AR16
114 pages
Print Icon
To Next Page IconTo Next Page
To Next Page IconTo Next Page
To Previous Page IconTo Previous Page
To Previous Page IconTo Previous Page
Loading...
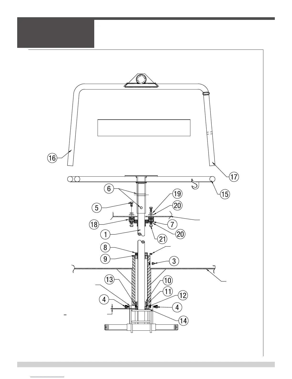
4.3 - Steering Column, Illustration
SECTION 4
PARTS
055838Page 78
FOR HANDLEBAR MOUNTED DUMP
ASSEMBLY; SEE PAGES 98-99
REF. FRAME ENGINE
MOUNTING PLATE
NOTE: LOCTITE AT ASSEMBLY
(2-PLACES)
3
32
" TURNING CLEARANCE
REQUIRED AFTER ASSEMBLY
TORQUE TO
23 FT.LBS.
REF. FRAME CONSOLE
NOTE: PRESS CLAMPING COLLAR (8)
SNUG AGAINST BEARING (9)
CLEAN OIL FROM THREADS AND APPLY (1)
ONE DROP OF SAFE-T-LOK T-70 TO THREADS.

Table of Contents

Related product manuals