EasyManua.ls Logo

allen AR16 - Travel Speed Control Assembly Illustration

allen AR16
114 pages
Print Icon
To Next Page IconTo Next Page
To Next Page IconTo Next Page
To Previous Page IconTo Previous Page
To Previous Page IconTo Previous Page
Loading...
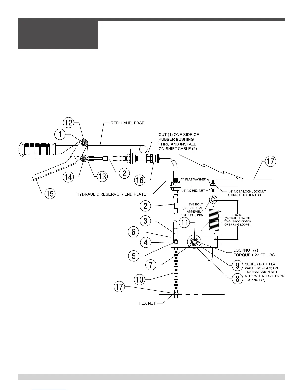
4.7 - Travel Speed Control Assembly,
Illustration
SECTION 4
PARTS
055838Page 92

Table of Contents

Related product manuals