EasyManua.ls Logo

Allied A80UH1E - Page 28

Allied A80UH1E
34 pages
Print Icon
To Next Page IconTo Next Page
To Next Page IconTo Next Page
To Previous Page IconTo Previous Page
To Previous Page IconTo Previous Page
Loading...
508096-01Issue 2037Page 28 of 34
3. Clock gas meter to ensure that the unit is operating
at the specied ring rate. Check the supply pressure
and the manifold pressure. On two-stage gas furnaces
check the manifold pressure on high re and low re.
If manifold pressure adjustment is necessary, consult
the Service Literature for unit specic information
on adjusting gas pressure. Not all gas valves are
adjustable. Verify correct temperature rise.
Cleaning the Heat Exchanger and Burners
NOTE: Use papers or protective covering in front of the
furnace during cleaning.
1. Turn o󰀨 both electrical and gas power supplies to
furnace.
2. Remove ue pipe and top cap (some applications top
cap can remain) from the unit.
3. Label the wires from gas valve, rollout switches,
primary limit switch and make-up box then disconnect
them.
4. Remove the screws that secure the combustion air
inducer/pressure switch assembly to the collector box.
Carefully remove the combustion air inducer to avoid
damaging blower gasket. If gasket is damaged, it must
be replaced to prevent leakage.
5. Remove the collector box located behind the
combustion air inducer. Be careful with the collector
box gasket. If the gasket is damaged, it must be
replaced to prevent leakage.
6. Disconnect gas supply piping. Remove the four screws
securing the burner manifold assembly to the vestibule
panel and remove the assembly from the unit.
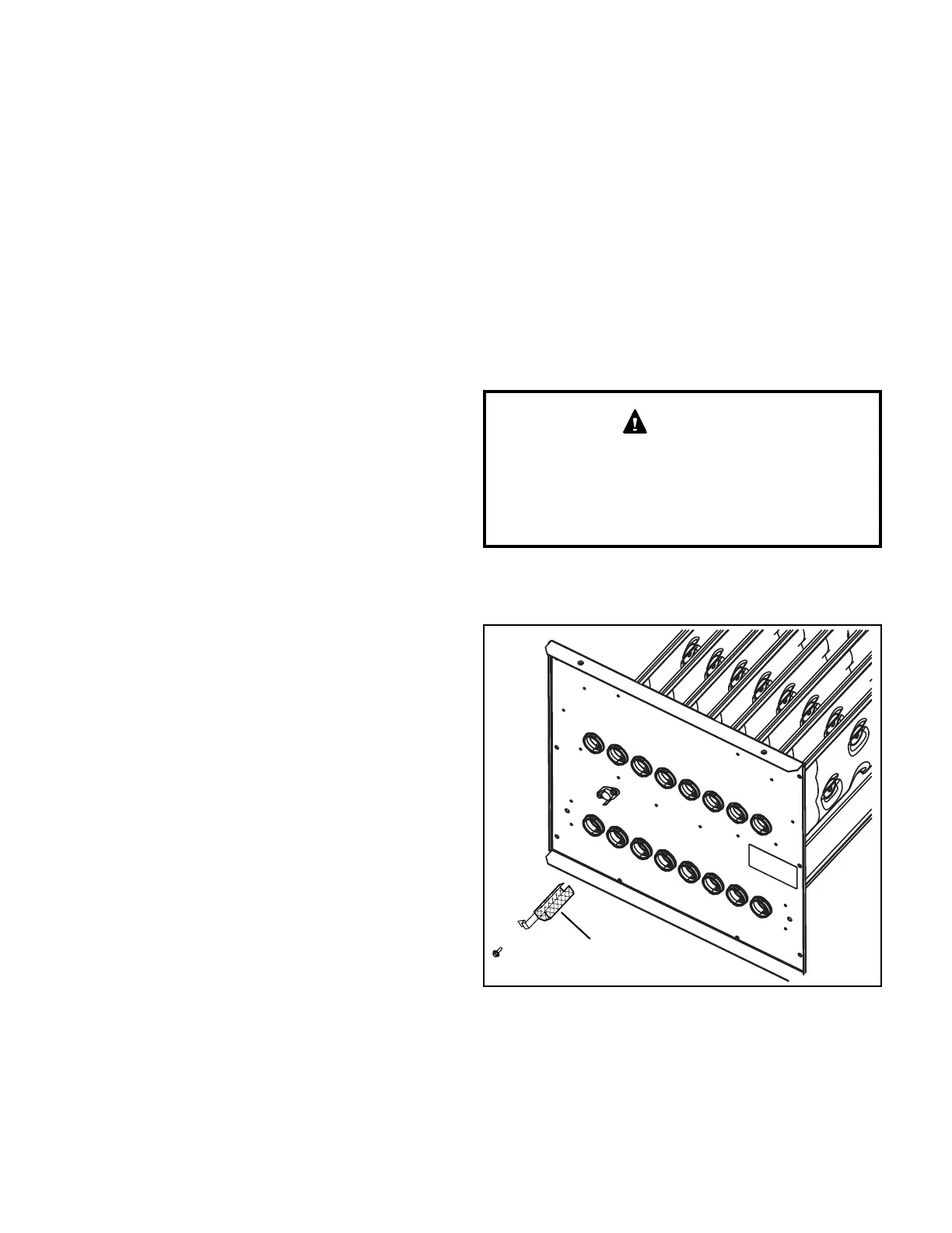
7. NOX units only - Remove screw securing NOX insert.
Remove NOX insert. See Figure 22.
8. Remove screws from both sides, top and bottom of
vestibule panel.
9. Remove heat exchanger. It may be necessary to
spread cabinet side to allow more room. If so, remove
ve screws from the left side or right side of cabinet.
See Figure 23.
10. Backwash using steam. Begin from the burner opening
on each clam. Steam must not exceed 275°F.
11. To clean burners, run a vacuum cleaner with a soft
brush attachment over the face of burners. Visually
inspect inside the burners and crossovers for any
blockage caused by foreign matter. Remove any
blockage. Figure 24 shows burner detail.
12. To clean the combustion air inducer visually inspect
and using a wire brush clean where necessary. Use
compressed air to clean o󰀨 debris and any rust.
13. Reinstall heat exchanger in vestibule. (Replace the
ve screws in the cabinet from step 10 if removed).
14. NOx units only - Replace NOx inserts.
15. Reinstall collector box and combustion air assembly.
Reinstall all screws to the collector box and combustion
air inducer. Failure to replace all screws may cause
leaks. Inspect gaskets for any damage and replace if
necessary.
16. Reinstall burner box and manifold assembly.
17. Reconnect all wires.
18. Reconnect top cap and vent pipe to combustion air
inducer outlet.
19. Reconnect gas supply piping.
20. Turn on power and gas supply to unit.
21. Set thermostat and check for proper operation.
22. Check all piping connections, factory and eld, for gas
leaks. Use a leak detecting solution or other preferred
means.
Some soaps used for leak detection are corrosive to
certain metals. Carefully rinse piping thoroughly after
leak test has been completed. Do not use matches,
candles, ame or other sources of ignition to check for
gas leaks.
CAUTION
23. Repeat steps 24 and 26 until no leaks are detected.
24. Replace access panel.
Figure 22. NOx Inserts
NOx Insert