EasyManua.ls Logo

Alpha 240P - User Controls

Alpha 240P
8 pages
Print Icon
To Next Page IconTo Next Page
To Next Page IconTo Next Page
To Previous Page IconTo Previous Page
To Previous Page IconTo Previous Page
Loading...
2
1 DESCRIPTION
The Alpha Range of boilers are wall mounted, fan assisted room-sealed combination boilers, providing both central heating and
domestic hot water at mains pressure.
The Alpha 240E and 240P boilers are suitable for central heating loads of between 9.3 and 23.3 kW (31 700 and 79 500 Btu/h). The
Alpha 280E and 280P boilers are suitable for central heating loads of between 9.3 and 28 kW (31 700 and 95 500 Btu/h).
The boilers will provide central heating (as required) during the 'on' times set on your clock (if fitted). Hot water is always
available whenever a hot tap is opened and takes priority over the central heating.
Note: The Alpha 240P and 280P use a permanent pilot for lighting the burner, and the Alpha 240E and 280E burner is lit
electronically.
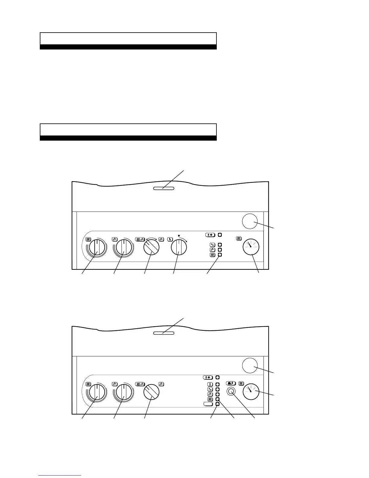
2 USER CONTROLS
Pull the controls panel cover forward and down to gain access to the controls.
Fig. 1
Clock
(if fitted)
System
Pressure
Gauge
Central
Heating
Thermostat
Domestic
Hot Water
Thermostat
Selector
Switch
Gas
Control
Indicator
Neons
Pilot and Burner
Viewing Window
0
THERMOSTAT
0
THERMOSTAT SELECTOR GAS
OFF
bar
04
3
2
1
Alpha 240P and 280P
Clock
(if fitted)
System
Pressure
Gauge
Central
Heating
Thermostat
Domestic
Hot Water
Thermostat
Selector
Switch
Burner
Viewing
Window
0
THERMOSTAT
0
THERMOSTAT
0
SELECTOR
bar
04
3
2
1
Indicator
Neons
Red
Reset
Button
White
Reset
Button
RESET
RESET
Alpha 240E and Alpha 280E
Alpha 240/280

Related product manuals